| P00A | S&T-Cable: STRIPPED & TINNED, SPT & XTW & UL2468 wire | |
| P00B | S&T-Cable: STRIPPED & TINNED, 2C-Cable | |
| P00C | S&T-Cable: STRIPPED & TINNED, 2C-Cable+DRAIN WIRE | |
| P00D | S&T-Cable: STRIPPED & TINNED, 3C-Cable | |
| P00E | S&T-Cable: STRIPPED & TINNED, 3C-Cable+DRAIN WIRE | |
| P00F | S&T-Cable: STRIPPED & TINNED, 4C-Cable | |
| P00G | S&T-Cable: STRIPPED & TINNED, 4C-Cable+DRAIN WIRE | |
| P00H | S&T-Cable: STRIPPED & TINNED, 5C-Cable | |
| P00J | S&T-Cable: STRIPPED & TINNED, 5C-Cable+DRAIN WIRE | |
| P00K | S&T-Cable: STRIPPED & TINNED, 7C-Cable | |
| P00L | S&T-Cable: STRIPPED & TINNED, 6C-Cable+DRAIN WIRE | |
| P00M | Cord End Terminal: Cord End Terminal L = 8.0 mm | |
| P00N | Cord End Terminal: Cord End Terminal L = 10.0 mm | |
| P00P | Quick-Disconnect Connector and Terminal: PANDUIT #DNF-18-250FIB(FEMALE) & #DNF-18-250FIM(MALE) ; 250 TAB ; TAB SIZE=6.3 x 0.8mm | |
| P00Q | Y-Terminal(4.3mm , #8): Y-Terminal(4.3mm) ; STUD SIZE #8 | |
| P00R | Y-Terminal (3.7mm , #6): Y-Terminal(3.7mm) ; STUD SIZE #6 | |
| P00S | Ring Terminal (3.7mm , #6): Ring Terminal(3.7mm) ; STUD SIZE #6 | |
| P00T | Alligator Clip: #S450 (or local equivalent) | |
| P00U | INSULATED BUTT SPLICE CONNECTORS: KST #BV5 & #BV2 (or local equivalent) ; BV5 : AWG 10 - AWG 12 ; BV2 : AWG 14 - AWG 16 | |
| P00V | DIN 46228-1 CORD END TERMINALS: JEESOON #CN040010 ,L=10.0mm | |
| P00W | #10 Ring Terminal & S&T: Ring Terminal ; STUD SIZE #10; KST #RV1-5 (or local equivalent) | |
| P00X | DIN 46228-1 CORD END TERMINALS: KST #EN1008 (or local equivalent) ; WIRE RANGE : AWG 18 | |
| P00Y | MOLEX #39-01-2026: Housing P/N:MOLEX #39-01-2026 ; Terminal P/N:MOLEX #39-00-0430 ; Pitch=4.2mm ; Mating : MOLEX #39-01-2020 | |
| P00Z | Cord End Terminal: Cord End Terminal L = 12.0 mm | |
| P01A | Barrel Female Plug: OD=3.5mm,ID=1.35mm,L=9.5mm ; Mating : S.C. #SCD420ACS001B00G,1.3φ | |
| P01B | Barrel Female Plug: OD=3.5mm,ID=1.35mm,L=11.0mm ; Mating : S.C. #SCD420ACS001B00G,1.3φ | |
| P01C | Barrel Female Plug: OD=5.0mm,ID=2.1mm,L=9.5mm ; Mating : S.C. #SCD441CCS011B00G,2.0φ | |
| P01D | Barrel Female Plug: OD=5.0mm,ID=2.1mm,L=11.0mm ; Mating : S.C. #SCD441CCS011B00G,2.0φ | |
| P01E | Barrel Female Plug: OD=3.5mm,ID=1.35mm,L=7.4mm ; Mating : S.C. #SCD420ACS001B00G,1.3φ | |
| P01F | Barrel Female Plug: OD=5.0mm,ID=2.5mm,L=9.5mm ; Mating : S.C. #SCD441DCS011B00G,2.5φ | |
| P01H | Barrel Female Plug: OD=5.0mm,ID=2.5mm,L=13.5mm ; Mating : S.C. #SCD441DCS011B00G,2.5φ | |
| P01J | Barrel Female Plug: OD=5.5mm,ID=2.1mm,L=9.5mm ; Mating : S.C. #SCD441CCS011B00G,2.0φ | |
| P01K | Barrel Female Plug: OD=5.5mm,ID=2.1mm,L=11.0mm ; Mating : S.C. #SCD441CCS011B00G,2.0φ | |
| P01L | Barrel Female Plug: OD=5.5mm,ID=2.5mm,L=15.0mm ; Mating : S.C. #SCD441DCS011B00G,2.5φ | |
| P01M | Barrel Female Plug: OD=5.5mm,ID=2.5mm,L=9.5mm ; Mating : S.C. #SCD441DCS011B00G,2.5φ | |
| P01N | Barrel Female Plug: OD=5.5mm,ID=2.5mm,L=11.0mm ; Mating : S.C. #SCD441DCS011B00G,2.5φ | |
| P01P | Barrel Female Plug: OD=5.5mm,ID=2.5mm,L=14.0mm ; Mating : S.C. #SCD441DCS011B00G,2.5φ | |
| P01Q | Barrel Female Plug: 89-07366-01: OD=5.5mm,ID=2.5mm,L=9.5mm ; (Tooling was paid by customer) ; Mating : S.C. #SCD441DCS011B00G,2.5φ | |
| P01R | Barrel Female Plug: OD=5.5mm,ID=2.1mm,L=12.0mm ; Mating : S.C. #SCD441CCS011B00G,2.0φ | |
| P01S | Barrel Female Plug: OD=5.5mm,ID=2.5mm,L=12.0mm ; Mating : S.C. #SCD441DCS011B00G,2.5φ | |
| P01T | Barrel Female Plug: OD=3.5mm,ID=1.35mm,L=12.0mm ; Mating : S.C. #SCD420ACS001B00G,1.3φ | |
| P01U | Barrel Female Plug: OD=5.5mm,ID=2.0mm,L=9.5mm ; Mating : S.C. #SCD441CCS011B00G,2.0φ | |
| P01V | Barrel Female Plug: OD=5.5mm,ID=2.0mm,L=12.0mm ; Mating : S.C. #SCD441CCS011B00G,2.0φ | |
| P01W | Barrel Female Plug: OD=5.5mm,ID=2.1mm,L=13.5mm ; Mating : S.C. #SCD441CCS011B00G,2.0φ | |
| P02A | Barrel Angle Female Plug: OD=3.5mm,ID=1.35mm,L=9.5mm ; Mating : S.C. #SCD420ACS001B00G,1.3φ | |
| P02B | Barrel Angle Female Plug: OD=3.5mm,ID=1.35mm,L=11.0mm ; Mating : S.C. #SCD420ACS001B00G,1.3φ | |
| P02J | Barrel Angle Female Plug: OD=5.5mm,ID=2.1mm,L=9.5mm ; Mating : S.C. #SCD441CCS011B00G,2.0φ | |
| P02K | Barrel Angle Female Plug: OD=5.5mm,ID=2.1mm,L=11.0mm ; Mating : S.C. #SCD441CCS011B00G,2.0φ | |
| P02L | Barrel Angle Female Plug: OD=5.5mm,ID=2.1mm,L=13.5mm ; Mating : S.C. #SCD441CCS011B00G,2.0φ | |
| P02M | Barrel Angle Female Plug: OD=5.5mm,ID=2.5mm,L=9.5mm ; Mating : S.C. #SCD441DCS011B00G,2.5φ | |
| P02N | Barrel Angle Female Plug: OD=5.5mm,ID=2.5mm,L=11.0mm ; Mating : S.C. #SCD441DCS011B00G,2.5φ | |
| P02P | Barrel Angle Female Plug: OD=5.5mm,ID=2.5mm,L=14.0mm ; Mating : S.C. #SCD441DCS011B00G,2.5φ | |
| P02Q | Barrel Angle Female Plug: OD=5.5mm,ID=2.5mm,L=10.0mm ; Mating : S.C. #SCD441DCS011B00G,2.5φ | |
| P02R | Barrel Angle Female Plug: OD=5.5mm,ID=2.1mm,L=10.0mm ; Mating : S.C. #SCD441CCS011B00G,2.0φ | |
| P02S | Barrel Angle Female Plug: OD=5.5mm,ID=2.5mm,L=12.0mm ; Mating : S.C. #SCD441DCS011B00G,2.5φ | |
| P02T | Barrel Angle Female Plug: OD=5.5mm,ID=2.5mm,L=13.5mm ; Mating : S.C. #SCD441DCS011B00G,2.5φ | |
| P03A | Audio plug: A=2.5mm,B=11.5mm ; Mating : S.C. #SCJ210M1NYS1100G | |
| P03B | Audio plug: A=2.5mm,B=14.5mm ; Mating : S.C. #SCJ210M1NYS1100G | |
| P03C | Audio plug: A=2.5mm,B=15.5mm ; Mating : S.C. #SCJ210M1NYS1100G | |
| P03D | Audio plug: A=3.5mm,B=11.5mm ; Mating : S.C. #SCJ310M1NYS1I00G | |
| P03E | Audio plug: A=3.5mm,B=14mm ; Mating : S.C. #SCJ310M1NYS1I00G | |
| P03F | Audio plug: A=3.5mm,B=15.5mm ; Mating : S.C. #SCJ310M1NYS1I00G | |
| P03G | Audio plug: A=3.5mm,B=14.5mm ; Mating : S.C. #SCJ310M1NYS1I00G | |
| P04A | Right angle Audio plug: A=2.5mm,B=11.5mm ; Mating : S.C. #SCJ210M1NYS1100G | |
| P04B | Right angle Audio plug: A=2.5mm,B=14.5mm ; Mating : S.C. #SCJ210M1NYS1100G | |
| P04C | Right angle Audio plug: A=2.5mm,B=15.5mm ; Mating : S.C. #SCJ210M1NYS1100G | |
| P04D | Right angle Audio plug: A=3.5mm,B=11.5mm ; Mating : S.C. #SCJ310M1NYS1I00G | |
| P04E | Right angle Audio plug: A=3.5mm,B=14.5mm ; Mating : S.C. #SCJ310M1NYS1I00G | |
| P04F | Right angle Audio plug: A=3.5mm,B=15.5mm ; Mating : S.C. #SCJ310M1NYS1I00G | |
| P04G | Right angle Audio plug: 3 pole 1/4in right angle plug, metal housing,plastic bushing, Neutrik #NYS208 (Supplied by customer) Mating :Neutrik #NYS 234 | |
| P05A | DIN-3 MALE PLUG: 3PIN,180°,Fixed ; Mating : S.C. #SCN600S3SS00000G | |
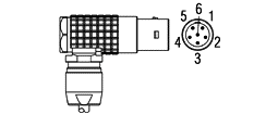
| P05B | DIN-5 MALE PLUG: 5PIN,180°,Fixed ; Mating : S.C. #SCN600S5SS00000G | |
| P05C | DIN-5-240° MALE PLUG: 5PIN,240°,Fixed ; Mating : S.C. #SCN600S6SS00000G | |
| P05D | DIN-6-240° MALE PLUG: 6PIN,240°,Fixed ; Mating : S.C. #SCN600S6SS00000G | |
| P05E | DIN-7-270° MALE PLUG:: 7PIN,270°,Fixed ; Mating : S.C. #SCN600S7SS00000G | |
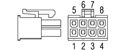
| P05F | DIN-8-270° MALE PLUG: 8PIN , 270°, Fixed ; Mating : S.C. #SCN600S8SS00000G | |
| P05G | DIN-4-216° MALE PLUG: 4PIN,216°,Fixed ; Mating : S.C. #SCN600S4SS00000G | |
| P05H | DIN-5 MALE PLUG: 5PIN,Fixed ; Mating : S.C. #SCN600S5SS00000G | |
| P06A | DIN-3 FEMALE PLUG:: 3PIN,Fixed ; Mating : WIN #DC-308 | |
| P06B | DIN-5 FEMALE PLUG: 5PIN,Fixed ; Mating : WIN #DC-310 | |
| P06D | DIN-6 FEMALE PLUG: 6PIN,Fixed ; Mating : WIN #DC-313 | |
| P06E | DIN-7 FEMALE PLUG: 7PIN,Fixed ; Mating : WIN #DC-314 | |
| P06F | DIN-8 FEMALE PLUG: 8PIN,Fixed ; Mating : WIN #DC-315 | |
| P06G | DIN-3 FEMALE PLUG: HIROSE #RPC2-12P-3S(71) ; Mating : HIROSE #RPC2-12RB-3P(71) | |
| P06H | DIN-6 FEMALE PLUG: MARUSHIN #MJ-54 ; FEMALE , 6 PIN ,240° ; (Supplied by customer) ; Mating : MARUSHIN #MP-132 | |
| P06J | DIN-5 FEMALE PLUG: SHYH_SHIUN#DN-0560181-2-02 , FEMALE , 5 PIN , Mating : WIN #DC-310 | |
| P07A | Min. DIN Plug (PIN-3): Min. DIN Plug (PIN-3) ; Mating : S.C. #SCN553S3GTNB010G | |
| P07B | Min. DIN Plug (PIN-4): Min. DIN Plug (PIN-4); Mating : S.C. #SCN553S4GTNB010G | |
| P07C | Min. DIN Plug (PIN-5): Min. DIN Plug (PIN-5) ; Mating : S.C. #SCN553S5GTNB010G | |
| P07D | Min. DIN Plug (PIN-6): Min. DIN Plug (PIN-6) ; Mating : S.C. #SCN553S6GTNB010G | |
| P07E | Min. DIN Plug (PIN-7): Min. DIN Plug (PIN-7) ; Mating : S.C. #SCN553S7GTNB010G | |
| P07F | Min. DIN Plug (PIN-8): Min. DIN Plug (PIN-8) ; Mating : S.C. #SCN553S8GTNB010G | |
| P08A | BULGIN #PX0410/03S/5560: BULGIN #PX0410/03S/5560 + Sockets,SA3349/1 ; Mating : BULGIN #PX0412/03P+SA3350/1 | |
| P08B | BULGIN #PX0410/03S/5560: BULGIN #PX0410/03S/5560 + 210-0097-B10 + Sockets,SA3349/1 ; Mating : BULGIN #PX0412/03P+SA3350/1 | |
| P08C | SAMTEC #ACPK-16-03-G-S-P-1: SAMTEC #ACPK-16-03-G-S-P-1 , FEMALE , 4PIN ; Mating : SAMTEC #ACR-16-03-G-00.20-T-BC-P-1 | |
| P08D | TE #T4011019031-000: TE #T4011019031-000 MALE , 4PIN ; Mating : T4041037031-000 | |
| P08E | AMPHENOL LTW #490534-2: AMPHENOL LTW #490534-2 , 6PIN (Supplied by customer) | |
| P08F | SAMTEC #ACPK-16-03-G-S-M-1: SAMTEC #ACPK-16-03-G-S-M-1 , FEMALE , 4PIN ; Mating : SAMTEC #ACR-12-01-G-01.00-T-BC-M-1 | |
| P08G | CHOGORI#22002213-01-001: CHOGORI#22002213-01-001 , 2PIN | |
| P08H | NIAN YEONG#WP-04F2-252-11: NIAN YEONG#WP-04F2-252-11 FEMALE , 4PIN ; | |
| P09A | POWER DIN-3 + Lock: POWER DIN-3 , Male + Lock ; Mating : S.C. #SCN773S3NSNB001G | |
| P09B | POWER DIN-4 + Lock:: POWER DIN-4 , Male + Lock ; Mating : S.C. #SCN773S4NSNB001G | |
| P09C | POWER DIN-3 , MOLDING: POWER DIN-3 , Male , MOLDING ; Mating : S.C. #SCN773S3NSNB001G | |
| P09D | POWER DIN-4 , MOLDING: POWER DIN-4 , Male ,MOLDING ; Mating : S.C. #SCN773S4NSNB001G | |
| P09E | POWER DIN-4 ,MOLDING: POWER DIN-4 , Male ,MOLDING ; Mating : S.C. #SCN773S4NSNB001G | |
| P09G | Min. DIN-4+LOCK:: Min. DIN-4+LOCK ,Male ; Mating : SHYH SHIUN #DP400005-1-11 | |
| P09H | Min. DIN-5+LOCK: Min. DIN-5+LOCK , Male ; Mating : HSP #A1013-5P | |
| P09J | Min. DIN-6+LOCK:: Min. DIN-6+LOCK , Male ; Mating : SHYH SHIUN #DP600002-4-11 | |
| P10A | Headers & Wire Housings: JMT #JP2422-2 ; 2 Positions ; (or local equivalent), Pitch=3.96mm ; Mating : E.C.I. #8673-02 | |
| P10C | Headers & Wire Housings: Pitch=3.96mm ; 4 Positions ; Mating : AMP #640445-4 | |
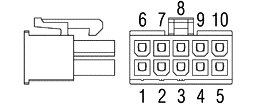
| P10E | Headers & Wire Housings: Pitch=3.96mm ; 6 Positions ; Mating : AMP #640445-6 | |
| P11A | JST #F31FSS-05V-KX: JST #F31FSS-05V-KX (Supplied by customer) Mating : JST #B05B-F31SK-GGXR | |
| P11B | JST #F31FDS-10V-K: JST #F31FDS-10V-K (Supplied by customer); Mating : JST #B010B-F31DK-GGR | |
| P11C | TE #T-178288-4: TE #T-178288-4 ; 4 Positions ; Pitch=3.81mm ; Mating : TE #1-178294-2 | |
| P12A | 3PIN: Tooling was paid by customer | |
| P12B | 2PIN: Tooling was paid by customer | |
| P12C | 2PIN: Tooling was paid by customer (Supplied by customer) | |
| P12D | JAE #DP01-4P: JAE #DP01-4P ; (Supplied by customer) ; Mating: JAE #DJ02-4P | |
| P12E | HOSIDEN #TPX1843-110300: HOSIDEN #TPX1843-110300 (Supplied by customer) ; Mating : HOSIDEN #TCP7334-010177 | |
| P13A | Telephone Plug-4PIN (RJ-9): Telephone Plug-4PIN (RJ-9) ; Mating : Telebox #MJ0524-44 | |
| P13B | Telephone Plug-6PIN: Telephone Plug-6PIN ; Mating : Telebox #MJ0524-66 | |
| P13C | Telephone Plug-8PIN (RJ-45): Telephone Plug-8PIN (RJ-45) ; Mating : Telebox #MJ0524-88 | |
| P13D | Telephone Plug-10PIN: Telephone Plug-10PIN ; Mating : Telebox #MJ0524-00 | |
| P13H | Telephone Plug-10PIN: Telephone Plug-10PIN (MOLDING) ; Mating : Telebox #MJ0524-00 | |
| P13M | Telephone Plug-6PIN(FEMALE): Telephone Plug-6PIN , FEMALE ; Mating : COB #108 MP6P6C | |
| P13N | Telephone Plug-8PIN(FEMALE): Telephone Plug-8PIN , FEMALE ; Mating : COB #102 MP8P8C | |
| P14D | FEMALE Type Cigarette Plug: FEMALE Type Cigarette Plug(FTCP) ; Mating : WUNTAIX #WTN-05-1118-1 | |
| P16A | D-Sub Plug(RS-232 plug),MALE: MALE , 9PIN ; Mating : SAN GONG #DB-09S | |
| P16B | D-Sub Plug(RS-232 plug),MALE: MALE , 15PIN ; Mating : SAN GONG #DB-15S | |
| P16C | LINKMAN #3225HD15SPWGTE: LINKMAN #3225HD15SPWGTE , D-Sub 15 PIN , MALE , (Supplied by customer) ; Mating : LINKMAN #3225HD15SSWGTE | |
| P17A | D-Sub Plug(RS-232 plug),FEMALE: FEMALE , 9PIN Mating : SAN GONG #D-S-09M | |
| P17B | HIROSE#HDE-CTH1(10): HIROSE#HDE-CTH1(10) + HIROSE#HDEB-9S , D-Sub , FEMALE , 9PIN , (Supplied by customer) Mating : HIROSE#HDEB-9P | |
| P17E | D-Sub Plug(RS-232 plug),FEMALE: FEMALE , 25PIN ; Mating : SAN GONG #D-S-25M | |
| P17F | D-Sub Plug(RS-232 plug),FEMALE: FEMALE , 15PIN ; Mating : SAN GONG #D-S-15M | |
| P17H | PHOENIX #1841909: Order No:PHOENIX #1841909 TYPE:PSC 1,5/ 3-F FEMALE , 3POS , Pitch=3.5 mm , (Supplied by customer) ; Mating : Order No : PHOENIX #1841857; TYPE : PSC 1,5/3-M | |
| P17J | HARTING #09691000022: CONNECTOR P/N:09691000022 ; (A1)P/N:09692817420(MALE PIN) ; (A2)P/N:09691817420(FEMALE PIN); Mating: (A1)09691817420 ;(A2)09692817420 | |
| P17K | FCT #FM5W5S-K740: CONNECTOR : FCT #FM5W5S-K740 TERMINAL : FCT #FMP006S103 25 way 5W5 D socket , Positronic connector , Mating : CONNECTOR : FCT #FM5W5P-K740 ; TERMINAL : FCT #FMP005P103 | |
| P17L | ITT #DAM3W3SA197: CONN D-SUB HOUSING : ITT #DAM3W3SA197 Receptacle : ITT #DM53744-7 BACKSHELL : TE #5748676-2 | |
| P18B | ADAPTER PLUG REPLACEMENT SET: 2 PIN JACK ; Mating : FUAN GEE #5521TIP-1 + S.C. #SCD441CCSO13000,2.0φ | |
| P18C | ADAPTER PLUG REPLACEMENT SET: (Supplied by customer) Mating : FUAN GEE #5521TIP-1 + S.C. #SCD441CCSO13000,2.0φ | |
| P19A | SWITCHCRAFT #760: SWITCHCRAFT #760, ID=0.1"(2.54mm),OD=0.218"(5.54mm), L=0.374"(9.5mm) Mating : SWITCHCRAFT #712A | |
| P19B | SWITCHCRAFT #760K: SWITCHCRAFT #760K , FLOATING LOCKRING , ID=0.1"(2.54mm),OD=0.218"(5.54mm), L=0.374"(9.5mm) ; INTERNAL THREAD : 5/16-32 NEF-2B ; Mating : SWITCHCRAFT #712A | |
| P19C | SHEN MING #D5525S7: SHEN MING #D5525S7 , FLOATING LOCKRING , (or local equivalent) ; ID=2.5mm ; OD=5.5mm ; L=12mm ; Center pin hidden ; INTERNAL THREAD : M8x0.75mm ; Mating : SHEN MING #655-153 | |
| P19D | SWITCHCRAFT #S760K: SWITCHCRAFT #S760K , FLOATING LOCKRING , ID=0.08"(2.03mm),OD=0.218"(5.54mm), L=0.374"(9.5mm); INTERNAL THREAD : 5/16-32 NEF-2B ; Mating : SWITCHCRAFT #722A | |
| P19E | SWITCHCRAFT #S761K: SWITCHCRAFT #S761K , FLOATING LOCKRING , ID=0.08"(2.03mm),OD=0.218"(5.54mm), L=0.474"(12.04mm); INTERNAL THREAD : 5/16-32 NEF-2B ; Mating : SWITCHCRAFT #L722A | |
| P19F | SWITCHCRAFT#762K: SWITCHCRAFT #762K , FLOATING LOCKRING , ID=0.084"(2.1mm),OD=0.218"(5.5mm), L=0.375"(9.5mm); Red Tip Black Handle; INTERNAL THREAD : 5/16-32UNEF-2B; Mating : SWITCHCRAFT #722A | |
| P19G | SWITCHCRAFT#S760: SWITCHCRAFT #S760 , ID=0.08"(2.03mm),OD=0.218"(5.54mm), L=0.374"(9.5mm); Mating : SWITCHCRAFT #722A | |
| P19H | SHEN MING #D5525S2: SHEN MING #D5525S2 , FLOATING LOCKRING , MOLDING , (or local equivalent) ; ID=2.5mm ; OD=5.5mm ; L=9.5mm ; INTERNAL THREAD : M8x0.75mm ; Mating :SHEN MING #655-153 | |
| P19J | SHEN MING #D5525S3: SHEN MING #D5525S3 , FLOATING LOCKRING , MOLDING , (or local equivalent) ; ID=2.5mm ; OD=5.5mm ; L=12mm ; INTERNAL THREAD : M8x0.75mm ; Mating : SHEN MING #655-153 | |
| P19K | BANG HORING #D5525R-01: BANG HORING #D5525R-01 , FLOATING LOCKRING , (or local equivalent) ; P19K shut down , P19W is alternative. | |
| P19L | SHEN MING #D5521S7: SHEN MING #D5521S7 , FLOATING LOCKRING , (or local equivalent) ; ID=2.1mm ; OD=5.5mm ; L=9.5mm ; INTERNAL THREAD : M8x0.75mm ; Mating : SHEN MING #655-141 | |
| P19M | BANG HORING #D5521R-03: BANG HORING #D5521R-03 , FLOATING LOCKRING , (or local equivalent) ; P19M shut down , P19S is alternative. | |
| P19N | SWITCHCRAFT #760K: SWITCHCRAFT #760K , FLOATING LOCKRING , MOLDING , ID=0.1"(2.54mm),OD=0.218"(5.54mm), L=0.374"(9.5mm) ; INTERNAL THREAD : 5/16-32 NEF-2B ; Mating : SWITCHCRAFT #712A | |
| P19P | SHEN MING #D5521S3: SHEN MING #D5521S3 , FLOATING LOCKRING , MOLDING , (or local equivalent) ; ID=2.1mm ; OD=5.5mm ; L=12mm ; INTERNAL THREAD : M8x0.75mm ; Mating : SHEN MING #655-141 | |
| P19Q | SHEN MING #D5521S2: SHEN MING #D5521S2 , FLOATING LOCKRING , MOLDING , (or local equivalent) ; ID=2.1mm ; OD=5.5mm ; L=9.5mm ; INTERNAL THREAD : M8x0.75mm ; Mating : SHEN MING #655-141 | |
| P19R | SWITCHCRAFT #761K: SWITCHCRAFT #761K , FLOATING LOCKRING , ID=0.1"(2.54mm), OD=0.218"(5.54mm), L=0.474"(12.04mm); INTERNAL THREAD : 5/16-32 NEF-2B; Mating : SWITCHCRAFT #L712A | |
| P19S | SHEN MING #D5521S6: SHEN MING #D5521S6 , FLOATING LOCKRING , (or local equivalent) ; ID=2.1mm,OD=5.5mm,L=12.0mm, INTERNAL THREAD : M8x0.75mm ; Mating : SHEN MING #655-141 | |
| P19T | SWITCHCRAFT#761KS15: SWITCHCRAFT #761KS15 , FLOATING LOCKRING , ID=0.1"(2.54mm), OD=0.218"(5.53mm), L=0.474"(12.04mm); CABLE OD=3.8~4.4mm ; INTERNAL THREAD : 7/16-32 UN 2B; Mating : SWITCHCRAFT #L712AS | |
| P19U | SWITCHCRAFT#761KS12: SWITCHCRAFT #761KS12 , FLOATING LOCKRING , ID=0.1"(2.54mm), OD=0.218"(5.54mm), L=0.474"(12.04mm); CABLE OD=3.2~3.8mm ; INTERNAL THREAD : 7/16-32 UN 2B ; Mating : SWITCHCRAFT #L712AS | |
| P19V | SHERWOOD #2550-005520: SHERWOOD #2550-005520 , Tuning Fork Type , FLOATING LOCKRING , MOLDING , (or local equivalent) ; ID=2.1mm , OD=5.51mm , L=11.5mm ; INTERNAL THREAD :5/16-32UNF; Mating : S.C. #SCD554CCS103B00G | |
| P19W | SHEN MING #D5525S8: SHEN MING #D5525S8 , FLOATING LOCKRING , (or local equivalent) ; ID=2.5mm ; OD=5.5mm ; L=9.5mm ; INTERNAL THREAD : M8x0.75mm; Mating : SHEN MING #655-153 | |
| P19Y | SHERWOOD #2550-552471: SHERWOOD #2550-552471 , Tuning Fork Type , FLOATING LOCKRING , MOLDING , (or local equivalent) ; ID=2.47m , OD=5.51mm , L=11.5mm ; INTERNAL THREAD : 5/16-32UNF ; Mating : S.C. #SCD554DCS103B00G | |
| P19Z | FUAN GEE #5525TV260-1T00-06-7.5: FUAN GEE #5525TV260-1T00-06-7.5 , Tuning Fork Type , FLOATING LOCKRING , MOLDING , (or local equivalent) ; ID=2.5mm , OD=5.5mm ; INTERNAL THREAD : 5/16-32UNF ; Mating : S.C. #SCD554DCS103B00G | |
| P20A | DINKLE #2ESDV-02P: DINKLE #2ESDV-02P, or local equivalent ; Pitch=5.08mm , Mating : DINKLE #2EHDR-02P | |
| P20B | DINKLE #2ESDP-02: DINKLE #2ESDP-02, or local equivalent ; Pitch=5.08mm , Mating : DINKLE #2EHDR-02P | |
| P20D | DINKLE & PHOENIX: Pitch=5.08mm , 5POS , or local equivalent ; Mating : DINKLE #2EHDR-05P | |
| P20E | PHOENIX #1757019: Order No. : PHOENIX #1757019 , Type : MSTB2,5/2-ST-5,08 , Pitch=5.08mm , 2POS , (Supplied by customer) ; Mating : Order No. : PHOENIX #1757242 , Type : MSTBA 2,5/2-G-5,08 | |
| P20F | PHOENIX#1776168: Order No. : PHOENIX#1776168 , Type : MSTB 2,5/ 3-STZ-5,08 , Pitch=5.08mm , 3POS , Mating : Order No. : PHOENIX#1757255 , Type : MSTBA 2,5/ 3-G-5,08 | |
| P21A | PHOENIX #1840366: Order No. : PHOENIX #1840366 , Type : MC 1,5/2-ST-3,5 , Pitch=3.5mm , 2POS , Mating:Order No. : PHOENIX #1911017, Type : EMCV 1,5/2-G-3,5 | |
| P21B | EXTRON: 10-703-10LF(BLUE) & 10-702-10LF(ORANGE) Pitch=3.5mm (Supplied by customer) ; Mating:Order No.:1911017, Type : EMCV 1,5/2-G-3,5 | |
| P21C | DINKLE # EC350V-04P: DINKLE #EC350V-04P , Pitch=3.5mm ; Mating : DINKLE #ECH350V-04P | |
| P21D | DINKLE #0225-0603: DINKLE #0225-0603 , Pitch=3.5mm ; Mating : DINKLE #0225-1603 | |
| P21E | DINKLE # EC350V-02P: DINKLE #EC350V-02P , Pitch=3.5mm ; Mating : DINKLE #ECH350V-02P | |
| P21F | WEIDMULLER #1606640000: Order No. : 1606640000 , TYPE NO. : BL 3.50/02/180F SN OR BX , Pitch=3.5mm (Supplied by customer) ; Mating : Order No. : 1607500000 | |
| P22A | XLR connector: FEMALE , 3PIN ; Mating : KING NET #89M108-3P | |
| P22B | XLR connector: FEMALE , 3PIN ; Mating : KING NET #89M108-3P | |
| P22C | XLR connector: FEMALE , 3PIN ; Mating : NEUTRIK #NC3MP | |
| P22D | XLR connector: FEMALE , 4PIN ; Mating : KING NET #89M108-4P | |
| P22E | XLR connector,DELTRON#700-0400: DELTRON#700-0400 , FEMALE , 4PIN ; Mating : DELTRON#703-0400 | |
| P22F | XLR connector: KING NET #93M-4001 , (or local equivalent) ; FEMALE , 4PIN ; Mating : KING NET #89M108-4P | |
| P22G | XLR connector: KING NET #91M-001-4P, (or local equivalent) ; FEMALE , 4PIN ; Mating : KING NET #89M108-4P | |
| P22H | XLR connector , SWITCHCRAFT #A4F: SWITCHCRAFT #A4F, 4PIN FEMALE PLUG ; Mating : Switchcraft #A4M | |
| P22J | XLR connector , SWITCHCRAFT #SL405FX: SWITCHCRAFT #SL405FX , 5PIN FEMALE PLUG ; Mating : Switchcraft #SL105M | |
| P22L | Mini-XLR connector: KING NET #92M-502-3P, (or local equivalent); FEMALE , 3PIN ; Mating : KING NET #92M-503-3P | |
| P22M | Mini-XLR connector , SWITCHCRAFT #TA4FX: SWITCHCRAFT #TA4FX, FEMALE , 4PIN ; Mating : Switchcraft #TB4M | |
| P22P | Mini-XLR connector: FEMALE , 6PIN ; Mating : KING NET #92M-503-6P | |
| P22Q | XLR connector: FEMALE , 3PIN ; Mating : NEUTRIK # NC3MDLX | |
| P23B | F connector,MALE: F connector , MALE , Center=1.0 ; Mating : TELELONG #F-0012 | |
| P23C | F connector,MALE: TELELONG #TL4702-CU , MALE , (or local equivalent) ; Mating : TELELONG #F-0012 | |
| P23D | BNC,MALE: BNC , MALE ; Mating : TELELONG #TL4707-DW | |
| P23E | F connector,MALE: F connector , MALE (Supplied by customer) Mating : TELELONG #TL4707-DW | |
| P24A | EIAJ Type Ⅰ: OD=2.35mm,ID=0.7mm,L=9.5mm ; Mating : S.C. #SCD471FCS000B00G | |
| P24B | EIAJ Type Ⅱ: OD=4.0mm,ID=1.7mm,L=9.5mm ; Mating : S.C. #SCD430BCS000B00G | |
| P24C | EIAJ Type Ⅲ: OD=4.75mm,ID=1.7mm,L=9.5mm ; Mating : S.C. #SCD465BCS000B00G | |
| P24D | EIAJ Type Ⅳ: OD=5.5mm,ID=3.3mm,L=9.5mm ; center pin=1.0mm ; Mating : S.C. #SCD460ECS000B00G | |
| P24E | EIAJ Type Ⅴ: OD=6.5mm,ID=4.3mm,L=9.5mm ; center pin=1.4mm ; Mating : S.C. #SCD461JCS000B00G | |
| P24F | EIAJ RC5322: OD=6.5mm,ID=3.1mm,L=9.5mm , center pin=1.0mm ; Mating : hosiden #HEC7000-010010 | |
| P24G | EIAJ Type Ⅰ: OD=2.35mm,ID=0.7mm,L=9.0mm ; Mating : S.C. #SCD471FCS000B00G | |
| P24H | EIAJ Type Ⅴ: OD=6.5mm,ID=4.3mm,L=10.5mm ; center pin=1.4mm ; Mating : S.C. #SCD461JCS000B00G | |
| P24J | EIAJ Type Ⅰ: OD=2.35mm,ID=0.7mm,L=7.0mm ; Mating : S.C. #SCD471FCS000B00G | |
| P24K | CUI #PP-012: CUI #PP-012 EIAJ Type Ⅰ OD=2.35mm,ID=0.7mm,L=9.5mm ; Mating : CUI #PJ1-022 | |
| P24L | EIAJ Type Ⅴ: OD=6.5mm,ID=4.3mm,L=8.5mm ; center pin=1.4mm ; Mating : S.C. #SCD461JCS000B00G | |
| P24M | EIAJ Type Ⅳ: FUAN GEE #PA50P10 (or local equivalent) ; EIAJ Type Ⅳ ; OD=5.5mm,ID=3.3mm,L=9.5mm ; center pin=1.0mm ; Mating : S.C. #SCD460ECS000B00G | |
| P24N | EIAJ Type Ⅱ: OD=4.0mm,ID=1.7mm,L=11.5mm ; Mating : S.C. #SCD430BCS000B00G | |
| P25B | EIAJ Type Ⅱ(Right Angle Type): OD=4.0mm,ID=1.7mm,L=9.5mm ; Mating : S.C. #SCD430BCS000B00G | |
| P25C | EIAJ Type Ⅲ(Right Angle Type): OD=4.75mm,ID=1.7mm,L=9.5mm ; Mating : S.C. #SCD465BCS000B00G | |
| P25D | EIAJ Type Ⅳ(Right Angle Type): OD=5.5mm,ID=3.3mm,L=9.5mm ; center pin=1.0mm ; Mating : S.C. #SCD460ECS000B00G | |
| P25E | EIAJ Type Ⅲ(Right Angle Type): OD=4.75mm,ID=1.7mm,L=10mm ; Mating : S.C. #SCD465BCS000B00G | |
| P25G | EIAJ Type Ⅴ(Right Angle Type): OD=6.5mm,ID=4.3mm,L=9.5mm ; center pin=1.4mm ; Mating : S.C. #SCD461JCS000B00G | |
| P26A | E.C.I. #3960-02: E.C.I. #3960-02 , Pitch=3.96mm ; Mating : E.C.I. #3961-02 | |
| P26B | E.C.I. #3960-03: E.C.I. #3960-03 , Pitch=3.96mm; Mating : E.C.I. #3961-03 | |
| P26C | JST #VHR-2N: JST #VHR-2N ; Pitch=3.96mm ; Mating : JST #B2P-VH | |
| P27A | BINDER #99-0972-100-02: BINDER , Series 710, Part No. : 99-0972-100-02; easy bayonet locking , IP40 , 2PIN , Socket , cable outlet 3-4mm ; Mating : BINDER #09-0973-00-02 | |
| P27B | BINDER #99-0972-102-02: BINDER , Series 710, Part No. : 99-0972-102-02; easy bayonet locking , IP40 , 2PIN , Socket , cable outlet 4-5mm ; Mating : BINDER #09-0973-00-02 | |
| P27C | BINDER #99-0606-00-03: BINDER , Series 678 ; Part No. : 99-0606-00-03 , bajonet locking , IP40 , FEMALE , 3PIN , CABLE OD=4 ~ 6mm ; Mating : BINDER #99-0607-00-03 | |
| P28A | PHOENIX #1786831: Order No.: PHOENIX #1786831, Type : MSTB 2,5/2-STF , Pitch=5.0mm , 2POS ; Mating : Order No.: PHOENIX #1776883 , Type : MSTBV 2,5/2-GF | |
| P28B | INVAX #TB-549-5802-23: INVAX #TB-549-5802-23 , Pitch=5.08mm , 2POS ; Mating : INVAX #OQ025551G | |
| P28C | INVAX #TJ0371520000G: INVAX #TJ0371520000G , Pitch=5.0mm , 3POS ; Mating : INVAX #OQ037551G | |
| P28D | DECA #MC101-50004: DECA #MC101-50004 , Pitch=5.0mm , 4POS ; Mating : DECA #ME050-50004 | |
| P28E | DECA #MC101-50002: DECA #MC101-50002 , Pitch=5.0mm , 2POS ; Mating : DECA #ME050-50002 | |
| P28F | PHOENIX #1779657: Order No.: PHOENIX #1779657 , Type : MSTB 2,5/3-STF , Pitch=5.0mm , 3POS , (Supplied by customer) ; Mating : Order No.: PHOENIX #1776702 , Type : MSTB 2,5/3-GF | |
| P28G | DINKLE #5ESDVM-03P: DINKLE #5ESDVM-03P , Pitch=5.0mm , 3POS ; Mating : DINKLE #5EHDVM-03P | |
| P28H | DECA #MC101-50803: DECA #MC101-50803 Pitch=5.08mm , 3POS ; Mating : DECA #ME050-50803 | |
| P28J | PHOENIX #1873207: Order No.: PHOENIX #1873207, Type : FKC 2,5/ 2-STF , Pitch=5.08mm , 2POS ; Mating : Order No.: PHOENIX #1776508 , Type : MSTB 2,5/ 2-GF | |
| P28K | PHOENIX #1847055: Order No.: PHOENIX #1847055, Type : MC 1,5/ 2-STF-3,5 , Pitch=3.5mm , 2POS ; Mating : Order No.: DINKLE #ECH350RM-02P | |
| P29A | Fischer #S 102 Z054: Fischer #S 102 Z054 , FEMALE , 5PIN ; (Supplied by customer) ; Mating : Fischer #D 102 Z054-130 | |
| P29B | Fischer #KE 1031 A019: Fischer #KE 1031 A019 (19 PIN Sealed cable receptacle) (Supplied by customer) ; Mating : Fischer #SF 1031 A019 | |
| P29C | Fischer #KE 1031 A012: Fischer #KE 1031 A012 (12 PIN Sealed cable receptacle) (Supplied by customer) ; Mating : Fischer #SF 1031 A012 | |
| P29D | Fischer #S 102 A054: Fischer #S 102 A054 , MALE , 5PIN ; (Supplied by customer) ; Mating : Fischer #D 102 A054 | |
| P29E | Fischer #SS 104 A037: Fischer #SS 104 A037 , Black Straight Boots , MALE , 4PIN ; Mating : Fischer #D 104 A037 | |
| P29F | Fischer #SS 103 A054-130: Fischer #SS 103 A054-130 , MOLDING , MALE , 5PIN ; Mating : Fischer #D 103 A054-130 | |
| P29G | Fischer #SS 103 A054-130: Fischer #SS 103 A054-130 , MOLDING , MALE , 5PIN ; Mating : Fischer #D 103 A054-130 | |
| P29H | Fischer #S 103 A053-130-3.7: Fischer #S 103 A053-130-3.7 , MALE , 4PIN ; BEND RELIEF : E4 103.190.6(RED); (Supplied by customer) ; Mating : Fischer #D 103 A053 | |
| P29K | Fischer #S 104 A051-132+: PLUG : Fischer #S 104 A051-132+ , MALE , 2PIN ; CLAMP : Fischer #E3 104.2/5.7+B ; Mating : Fischer #D 104 A051 | |
| P29L | Fischer #SS 102 A054-140: Fischer #SS 102 A054-140 , MOLDING , MALE , 5PIN ; Mating : Fischer #D 102 A054 | |
| P29M | Fischer #SS 103 A054-230: Fischer #SS 103 A054-230 , MOLDING , MALE , 5PIN ; Mating : Fischer #D 103 A054-230 | |
| P30A | JMT or Molex connector: JMT #JP2130-2A, (or local equivalent) Pitch=6.7mm Mating : JMT #JP2030-2B | |
| P30D | JMT or Molex connector: JMT #JP2130-6A, (or local equivalent) Pitch=6.7mm Mating : JMT #JP2030-6B | |
| P31A | CONXALL #3282-6PG-3DC: CONXALL #3282-6PG-3DC , Male , 6 PIN ; Mating : CONXALL #4282-6SG-300 | |
| P31B | CONXALL #6382-3SG-321: CONXALL #6382-3SG-321 ; FEMALE , 3PIN ; (Supplied by customer) ; Mating : CONXALL #7382-3PG-300 | |
| P31C | CONXALL #16282-2SG-311: CONXALL #16282-2SG-311 ; Socket , 2PIN ; (Supplied by customer) ; Mating : CONXALL #17280-2PG-300 | |
| P32A | Circular Connectors: Circular Connectors,2PIN ; Mating : KING NET #91M-701-2P | |
| P32B | Circular Connectors: Circular Connectors,3PIN ; Mating : KING NET #91M-701-3P | |
| P32C | Circular Connectors: Circular Connectors,2PIN ; Mating : KING NET #91M-701-2P | |
| P32D | PLT #PLT-164-P: PLT #PLT-164-P , FEMALE , 4PIN ; Mating : PLT #PLT-164-R | |
| P32E | ZJPT #12M-3A: ZJPT(重強) #12M-3A , FEMALE , 3PIN ; Mating : ZJPT #12M-3B | |
| P32F | HIROSE #HS12P-2(71): HIROSE #HS12P-2(71) , FEMALE , 2PIN ; (Supplied by customer); Mating : HIROSE #HS12R-2(71) | |
| P32G | NANABOSHI #NCS-142-P: NANABOSHI #NCS-142-P , FEMALE , 2PIN ; (Supplied by customer); Mating : NANABOSHI #NCS-142-R | |
| P32H | PLT #PLT-164-P-R: PLT #PLT-164-P-R , FEMALE , 4PIN ; Mating : PLT #PLT-164-R-R | |
| P32J | PLT #PLT-164-LP-R: PLT #PLT-164-LP-R , Angle Plug , FEMALE , 4PIN ; Mating : PLT #PLT-164-R-R | |
| P32K | CALRAD#30-453: CALRAD#30-453 , FEMALE , 4PIN ; (or local equivalent) ; Mating : CALRAD#30-454 | |
| P33A | MOLEX #39-03-6022: MOLEX #39-03-6022 , (or local equivalent) ; Pitch=6.7mm, Mating : MOLEX #19-09-1029 | |
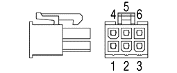
| P34A | MOLEX #39-01-2020: MOLEX #39-01-2020 , (or local equivalent ); Pitch=4.2mm, Mating : MOLEX #39-28-1023 | |
| P34B | MOLEX #39-01-2040: MOLEX #39-01-2040 , (or local equivalent) ; Pitch=4.2mm, Mating : MOLEX #39-28-1043 | |
| P34C | MOLEX #39-01-2060: MOLEX #39-01-2060 or 45559-0002 , (or local equivalent) ; Pitch=4.2mm, Mating : MOLEX #39-28-1063 | |
| P34D | MOLEX #39-01-2080: MOLEX #39-01-2080 , (or local equivalent); Pitch=4.2mm, Mating : MOLEX #39-28-1083 | |
| P34E | MOLEX #39-01-2200: MOLEX #39-01-2200 , (or local equivalent) ; Pitch=4.2mm, Mating : MOLEX #39-28-1203 | |
| P34F | MOLEX #39-01-2045 , 94V-0: MOLEX #39-01-2045 , 94V-0 , (or local equivalent) ; Pitch=4.2mm, Mating : MOLEX #39-28-1043 | |
| P34G | MOLEX #39-01-3045 , BLACK: MOLEX #39-01-3045 , BLACK , (or local equivalent) ; Pitch=4.2mm, Mating : MOLEX #39-28-1043 | |
| P34H | MOLEX #39-01-2100: MOLEX #39-01-2100 , (or local equivalent) ; Pitch=4.2mm, Mating : MOLEX #39-28-1103 | |
| P34J | MOLEX #39-01-3065 , BLACK: MOLEX #39-01-3065 , BLACK , Pitch=4.2mm , Mating : MOLEX #39-28-1063 | |
| P34K | MOLEX#39-01-3105 , BLACK: MOLEX#39-01-3105 , BLACK , Pitch=4.2mm, Mating : MOLEX #39-28-1103 | |
| P34L | MOLEX #39-01-2060 (染黑): MOLEX #39-01-2060 (染黑) , Pitch=4.2mm , Mating : MOLEX #39-28-1063 | |
| P34M | MOLEX #39-01-2026 , 94V-0: MOLEX #39-01-2026 , FEMALE , 94V-0 , (or local equivalent) ; Pitch=4.2mm, Mating : MOLEX #39-01-2020 | |
| P34N | MOLEX #39-01-2025 , 94V-0: MOLEX #39-01-2025 , 94V-0 , (or local equivalent ); Pitch=4.2mm, Mating : MOLEX #39-28-1023 | |
| P35A | MOLEX #43025-0200: MOLEX #43025-0200 , (or local equivalent) ; Pitch=3.0mm, Mating : MOLEX #43045-0212 | |
| P35B | MOLEX #43025-0400(or local equivalent): MOLEX #43025-0400 , (or local equivalent) ; Pitch=3.0mm, Mating : MOLEX #43045-0412 | |
| P35C | MOLEX#43025-0600 or CVILUX #CP3506S0010: 43025-0600,CP3506S0010, (or local equivalent) Pitch=3.0mm Mating : MOLEX #43045-0612 | |
| P35D | MOLEX #43025-0800: MOLEX #43025-0800 , (or local equivalent) , Pitch=3.0mm , Mating : MOLEX #43045-0812 | |
| P36A | MOLEX #39-01-4030: MOLEX #39-01-4030 , (or local equivalent) ; Pitch=4.2mm, Mating : MOLEX #39-30-1039 | |
| P36B | MOLEX #39-01-4040: MOLEX #39-01-4040 , (or local equivalent); Pitch=4.2mm, Mating : MOLEX #39-30-2045 | |
| P37A | MOLEX #43645-0200: MOLEX #43645-0200 , (or local equivalent); Pitch=3.0mm, Mating : MOLEX #43650-0215 | |
| P38B | MOLEX #26-03-4030: MOLEX #26-03-4030 , (or local equivalent); Pitch=3.96mm, Mating : MOLEX #09-65-2048 | |
| P38E | MOLEX #26-03-4061: MOLEX #26-03-4061 , (or local equivalent); Pitch=3.96mm, Mating : MOLEX #09-65-2068 | |
| P39A | JST #PAP-02V-S(P): JST #PAP-02V-S(P) , Pitch=2.0mm ; (Supplied by customer) ; Mating : JST #SM02B-PASS-1-TB | |
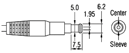
| P40A | Female DC Plug: OD=5.0mm,ID=1.95mm,L=7.5mm ; Mating : Singatron #2DC-0415F200 | |
| P41A | KYCON #KLDX-PA-0202-B-LT: KYCON #KLDX-PA-0202-B-LT , Locking Type , Tuning Fork Type , For 2.5mm Jack ; Mating : KYCON #KLDX-0202-B-LT | |
| P41B | Kobiconn #171-3210-E: Kobiconn #171-3210-E ,MOLDING ; OD=.14",ID=1.3mm,L=0.37" ; Mating : Kobiconn #163-4015-EX | |
| P41K | Kobiconn #171-3220: Kobiconn #171-3220 , OD=4.75mm,ID=1.7mm,L=9.5mm EIAJ Type Ⅲ ; (Supplied by customer) ; Mating : Kobiconn #163-4311-E | |
| P41M | MARUSHIN #MP-206: P/N:MARUSHIN #MP-206-R, EIAJ RC5322 OD=6.5mm,ID=3.1mm,L=9.5mm , center pin=1.0mm ; (Supplied by customer) ; Mating : MARUSHIN #MJ-300J | |
| P41N | S.C. #SCDP443DBNNNBPTG: S.C. #SCDP443DBNNNBPTG , Locking Type , Tuning Fork Type , For 2.5mm Jack ; or local equivalent ; Mating : S.C. #SCD443DCS011B00G , 2.5φ | |
| P41P | MARUSHIN #MP-121AR: P/N:MARUSHIN #MP-121AR , Locking Type , (Supplied by customer) ; Mating : MARUSHIN #MJ-179LR | |
| P41Q | MARUSHIN #MP-122AR: P/N:MARUSHIN #MP-122AR , Locking Type , (Supplied by customer) ; Mating : MARUSHIN #MJ-180LR | |
| P42A | Barrel Female Plug: OD=5.5mm,ID=2.5mm,L=13.5mm ; Mating : S.C. #SCD441DCS011B00G,2.5φ | |
| P42B | Barrel Female Plug: OD=5.5mm,ID=2.5mm,L=9.0mm ; Mating : S.C. #SCD441DCS011B00G,2.5φ | |
| P42C | Barrel Female Plug: OD=3.5mm,ID=1.35mm,L=9.0mm ; Mating : S.C. #SCD420ACS001B00G,1.3φ | |
| P42D | Barrel Female Plug: OD=3.0mm,ID=1.0mm,L=10.3mm ; Mating : S.C. #SCD412ELTR00G,1.0φ | |
| P42E | Barrel Female Plug: OD=7.9mm , ID=5.6mm , CENTER PIN=0.9mm , L=12mm Tooling was paid by customer ; Mating : FUAN GEE #79P09J-1T00(成型式) | |
| P42F | Barrel Female Plug: OD=7.4mm , ID=5.1mm , CENTER PIN=0.6mm , L=10mm ; (HP connector ) ; Mating : FUAN GEE #74P06J-1T00(成型式) | |
| P42G | Barrel Female Plug: OD=6.5mm,ID=3.0mm,L=10.0mm ; Mating : CUI #PJ-048H | |
| P42H | Barrel Female Plug: OD=3.5mm,ID=1.1mm,L=9.5mm ; Mating : S.C. #SCD420ACS003BOOG,1.0φ | |
| P42J | Barrel Female Plug: OD=3.5mm,ID=1.35mm,L=7.0mm ; Mating : S.C. #SCD420ACS001B00G,1.3φ | |
| P42K | Barrel Female Plug: OD=3.5mm,ID=1.35mm,L=14.0mm ; Mating : S.C. #SCD420ACS001B00G,1.3φ | |
| P42L | Barrel Female Plug: OD=3.5mm,ID=1.1mm,L=11.0mm ; Mating : S.C. #SCD420ACS003BOOG,1.0φ | |
| P42M | Barrel Female Plug: OD=5.5mm,ID=2.1mm,L=10.0mm ; Mating : S.C. #SCD441CCS011B00G,2.0φ | |
| P42N | Barrel Female Plug(89-07020-XX): OD=5.5mm,ID=2.5mm,L=11.0mm ; Mating : S.C. #SCD441DCS011B00G,2.5φ | |
| P42P | Barrel Female Plug: OD=6.3mm,ID=3.0mm,L=9.5mm ; Mating : S.C. #SCD452GCS003B00G,2.95φ | |
| P42Q | Barrel Female Plug: OD=5.5mm,ID=2.5mm,L=10.0mm ; Mating : S.C. #SCD441DCS011B00G,2.5φ | |
| P42R | Barrel Female Plug: OD=7.4mm , ID=5.1mm , CENTER PIN=0.6mm , L=12mm ; (HP connector ) ; Mating : FUAN GEE #74P06J-1T00(成型式) | |
| P42S | Barrel Female Plug: OD=3.5mm,ID=1.35mm,L=8.5mm ; Mating : S.C. #SCD420ACS001B00G,1.3φ | |
| P42T | Barrel Female Plug: OD=5.5mm,ID=1.7mm,L=9.5mm ; Mating : FUAN GEE #5517J(成型式) | |
| P42U | Barrel Female Plug: OD=5.0mm,ID=2.5mm,L=11.0mm ; Mating : S.C. #SCD441DCS011B00G,2.5φ | |
| P42V | Barrel Female Plug: OD=3.0mm,ID=1.1mm,L=9.5mm | |
| P42W | Barrel Female Plug: OD=2.5mm,ID=0.7mm,L=7.0mm ; Mating : S.C. #SCD471FCS000B00G | |
| P42Y | Barrel Female Plug: OD=6.5mm,ID=3.0mm,L=9.5mm ; Mating : CUI #PJ-048H | |
| P42Z | Barrel Female Plug: OD=5.5mm,ID=2.1mm,L=9.0mm ; Mating : S.C. #SCD441CCS011B00G,2.0φ | |
| P43A | Barrel Angle Female Plug: OD=5.5mm,ID=1.7mm,L=10.0mm ; Mating : FUAN GEE #5517J(成型式) | |
| P43B | Barrel Angle Female Plug: OD=5.5mm,ID=2.5mm,L=9.0mm ; Mating : S.C. #SCD441DCS011B00G,2.5φ | |
| P43C | Barrel Angle Female Plug: OD=3.5mm,ID=1.35mm,L=9.0mm ; Mating : S.C. #SCD420ACS001B00G,1.3φ | |
| P43D | Barrel Angle Female Plug: OD=3.5mm,ID=1.35mm,L=7.4mm ; Mating : S.C. #SCD420ACS001B00G,1.3φ | |
| P43E | Barrel Angle Female Plug: OD=5.5mm,ID=2.1mm,L=11.3mm ; Mating : S.C. #SCD441CCS011B00G,2.0φ | |
| P43F | Barrel Angle Female Plug: OD=3.5mm,ID=1.35mm,L=7.5mm ; Mating : S.C. #SCD420ACS001B00G,1.3φ | |
| P43G | Barrel Angle Female Plug: OD=6.5mm,ID=3.0mm,L=10.0mm ; Mating : CUI #PJ-048H | |
| P43H | EIAJ Type Ⅰ (Right Angle Type): OD=2.35mm,ID=0.7mm,L=11.0mm (Supplied by customer) Mating : S.C. #SCD471FCS000B00G | |
| P43J | Barrel Angle Female Plug: OD=3.5mm,ID=1.1mm,L=9.5mm ; Mating : S.C. #SCD420ACS003BOOG,1.0φ | |
| P43K | Barrel Angle Female Plug: OD=5.5mm,ID=2.5mm,L=12.5mm ; Mating : S.C. #SCD441DCS011B00G,2.5φ | |
| P43L | Barrel Angle Female Plug: OD=3.5mm,ID=1.1mm,L=11.0mm ; Mating : S.C. #SCD420ACS003BOOG,1.0φ | |
| P43M | Barrel Angle Female Plug: OD=5.5mm,ID=2.1mm,L=12.0mm ; Mating : S.C. #SCD441CCS011B00G,2.0φ | |
| P43N | Barrel Angle Female Plug: OD=7.4mm,ID=5.25mm,L=12.5mm | |
| P43W | Barrel Angle Female Plug: OD=3.65mm,ID=1.5mm,L=9.5mm (Supplied by customer) | |
| P44C | DIN-5 MALE PLUG+LOCK: 5 PIN(180°) + LOCK , Molding type , Mating : YI WAI #MPJ-626-5P(180°) | |
| P44D | DIN-5 MALE PLUG+LOCK: 5 PIN(240°) + LOCK , Molding type Mating : SWITCHCRAFT #61HA5FX-ND | |
| P44G | DIN-8 MALE PLUG+LOCK: 8 PIN(270°) + LOCK , Molding type ; Mating : YI WAI #MPJ-626-8P(270°) | |
| P44H | DIN-3 MALE PLUG+LOCK: 3 PIN + LOCK , Assembly type , Mating : LUMBERG #0107 03 | |
| P44J | DIN-5 MALE PLUG+LOCK: 5 PIN(180°) + LOCK , Assembly type , Mating : CUI #SD-50LS | |
| P44M | DIN-8 MALE PLUG+LOCK: 8 PIN(270°) + LOCK , Assembly type , Mating : CUI #SD-80LS | |
| P45A | RCA Connector: RCA Connector ; Mating : S.C. #SCP601UNT1T0000G | |
| P46A | DINKLE #2ESDPLM-03P: 2ESDPLM-03P, Pitch=5.08mm ; Mating : 2EHDVM-03P | |
| P46B | Weidmuller Socket #1559710000: Type : BLZ 5.08/03/270B SN BK BX, Order No. : 1559710000, Pitch=5.08mm (Supplied by customer) ; Mating : SL 5.08/03/180B 3.2SN OR BX | |
| P46C | DINKLE #2ESDPLM-02P: 2ESDPLM-02P, Pitch=5.08mm ; Mating : 2EHDVM-02P | |
| P47A | Female DC Plug: FEMALE DC Plug (Supplied by customer) | |
| P47B | Barrel Angle Female Plug: OD=5.0mm,ID=1.95mm,L=8.0mm ; Mating : Singatron #2DC-0415F200 | |
| P47C | Barrel Angle Female Plug: OD=5.0mm,ID=1.95mm,L=10.0mm ; Mating : Singatron #2DC-0415F200 | |
| P48A | DC JACK 5.5*2.5mm: DC JACK male=5.5*2.5mm ; Mating : FUAN GEE #5525C205 | |
| P48B | DC JACK 5.5*2.1mm: DC JACK male=5.5*2.1mm ; Mating : FUAN GEE #5521C205 | |
| P48C | DC JACK 5.5*2.1mm: DC JACK male=5.5*2.1mm ; Mating : FUAN GEE #5521C205 | |
| P48D | DC JACK , EIAJ III(4.75x1.7): DC JACK EIAJ III(4.75x1.7) ; Mating : FUAN GEE #47517TV190-1M00 | |
| P48E | DC JACK 5.5*2.5mm: DC JACK male=5.5*2.5mm ; Mating : FUAN GEE #5525C205 | |
| P48F | DC JACK 5.5*2.5mm: DC JACK Male= 5.5*2.5mm ; Mating : FUAN GEE #5525C205 | |
| P49A | HIROSE #RM12BPE-2S(76): HIROSE #RM12BPE-2S(76) , FEMALE , 2PIN ; (Supplied by customer); Mating : HIROSE #RM12BRD-2PH(76) | |
| P49B | HIROSE #RM12BPE-3S(71): HIROSE #RM12BPE-3S(71) , FEMALE , 3PIN ; Mating : HIROSE #RM12BRD-3PH(71) | |
| P49C | HIROSE #RM12BPE-4S(71): HIROSE #RM12BPE-4S(71) , FEMALE , 4PIN ; (Supplied by customer) ; Mating : HIROSE #RM12BRD-4PH(71) | |
| P49D | HIROSE # RM12BPE-5S(71): HIROSE #RM12BPE-5S(71) , FEMALE , 5PIN ; (Supplied by customer); Mating : HIROSE #RM12BRD-5PH(71) | |
| P49E | HIROSE #RM12BPG-6S: HIROSE #RM12BPG-6S , FEMALE , 6PIN ; (Supplied by customer); Mating : HIROSE #RM12BRD-6PH(71) | |
| P49F | HIROSE #MXR-8PA-3PB(71): HIROSE #MXR-8PA-3PB(71) , MALE , 3PIN ; (Supplied by customer) ; Mating : HIROSE #MXR-8RA-3S(71) | |
| P49G | HIROSE #HR10A-7P-4S(73): HIROSE #HR10A-7P-4S(73) , FEMALE , 4PIN ; Mating : HIROSE #HR10A-7R-4P(73) | |
| P49H | HIROSE #HR10A-7P-6SC: HIROSE#HR10A-7P-6SC , MOLDING , FEMALE , 6PIN ; Mating : HIROSE#HR10A-7R-6P(73) | |
| P49J | HIROSE #LF07WBP-3S(31): HIROSE #LF07WBP-3S(31) , FEMALE , 3PIN ; Mating : HIROSE #LF07WBR-3P | |
| P49K | HIROSE #HR10-10P-12S(73): HIROSE #HR10-10P-12S(73) , MOLDING , FEMALE , 12PIN ; (Supplied by customer) ; Mating : HIROSE #HR10-10R-12P(73) | |
| P49L | HIROSE #HR10A-7P-6S(73): HIROSE #HR10A-7P-6S(73) , FEMALE , 6PIN ; Mating : HIROSE #HR10A-7R-6P(73) | |
| P49M | HIROSE #HR10A-7P-6SC(73): HIROSE #HR10A-7P-6SC(73) , FEMALE , 6PIN ; (Supplied by customer) ; Mating : HIROSE #HR10A-7R-6P(73) | |
| P49N | HUI BAO #HNHR6-06FBF: HUI BAO #HNHR6-06FBF , FEMALE , 6PIN ; (Supplied by customer) ; Mating : HUI BAO #HNHR06-06MBPCB | |
| P49P | HIROSE #HR10A-7P-4P(73): HIROSE #HR10A-7P-4P(73) MALE , 4PIN ; Mating : HIROSE #HR10A-7R-4S(73) | |
| P49Q | HIROSE #HR10A-7P-6P(73): HIROSE #HR10A-7P-6P(73) , MOLDING , MALE , 6PIN ; (Supplied by customer); Mating : HIROSE #HR10A-7R-6S(73) | |
| P49R | HIROSE #RM15WTPZ-8S(71): HIROSE #RM15WTPZ-8S(71) +HIROSE #JR13WCC-6(72) ; FEMALE , 8PIN ; (Supplied by customer); Mating : HIROSE #RM15WTRZ-8P(71) | |
| P49S | HIROSE#HR30-6PA-3S(71): HIROSE#HR30-6PA-3S(71) FEMALE , 3PIN ; (Supplied by customer) ; Mating : HIROSE #HR30-6R-3P(71) | |
| P49T | HIROSE#SR30-10JE-4S(71): HIROSE #SR30-10JE-4S(71) ; FEMALE , 4PIN ; (Supplied by customer) ; Mating : HIROSE #SR30-10PE-4P(71) | |
| P49U | binder#09-0310-00-04: binder#09-0310-00-04 Female, 4 Contacts, Cable, M16 Connector, Socket, IP40 | |
| P50A | AMP #172165-1: AMP #172165-1, Pitch=4.14mm ; (Supplied by customer) Mating : AMP #1-770166-0 | |
| P51A | MOLEX #90331-0003: MOLEX #90331-0003 , (or local equivalent); Pitch=3.96mm, Mating : MOLEX #36642-0001 | |
| P52A | MOLEX #70107-0001: SL,Wire-to-Wire Connectoror, MOLEX #70107-0001 , (or local equivalent), Pitch=2.54 mm; Mating : MOLEX #14-56-7027 | |
| P53A | WING-TECH #CP402K: CP402K,Pitch=5.08mm | |
| P54A | BINDER #09-0571-00-08: BINDER , Series 680 , Part No. : 09-0571-00-08 , M16 IP40 , MALE , 8PIN ; CABLE OD=3 ~ 6mm ; Mating : BINDER #09-0474-00-08 | |
| P54B | BINDER #09-0306-02-03: BINDER , Series 680 , Part No. : 09-0306-02-03 , M16 IP40 , FEMALE , 3PIN ; CABLE OD=6 ~ 7.8mm ; (Supplied by customer) ; Mating : BINDER #09-0307-00-03 | |
| P54C | BINDER #09-0306-00-03: BINDER , Series 680 , Part No. : 09-0306-00-03 , M16 IP40 , FEMALE , 3PIN ; CABLE OD=3 ~ 6mm ; (Supplied by customer) ; Mating : BINDER #09-0307-00-03 | |
| P54D | BINDER #09-0318-02-05: BINDER , Series 680 , Part No. : 09-0318-02-05 , M16 IP40 , FEMALE , 5PIN (Stereo) ; CABLE OD=6 ~ 7.8mm ; Mating : BINDER #09-0319-00-05 | |
| P54E | BINDER #09-0572-00-08: BINDER , Series 680 , Part No. : 09-0572-00-08 , M16 IP40 , FEMALE , 8PIN ; CABLE OD=3 ~ 6mm ; Mating : BINDER #09-0473-00-08 | |
| P54F | BINDER #09-0314-00-05: BINDER , Series 680 , Part No. : 09-0314-00-05 , M16 IP40 , FEMALE , 5PIN ; CABLE OD=3 ~ 6mm ; Mating : BINDER #09-0315-00-05 | |
| P54G | BINDER#09-0322-02-06: BINDER , Series 680 , Part No. : 09-0322-02-06, M16 IP40 , FEMALE , 6PIN ; CABLE OD=6 ~ 7.8mm ; Mating : BINDER #09-0323-00-06 | |
| P55A | PHOENIX #1827716: Order No. : PHOENIX #1827716 , Type : MC 1,5/3-STF-3,81 , Pitch=3.81mm , 3POS , (Supplied by customer) ; Mating : Order No. : PHOENIX #1830606 , Type : MC 1,5/3-GF-3,81 | |
| P55B | PHOENIX #1827703: Order No. : PHOENIX #1827703 , Type : MC 1,5/2-STF-3,81 , Pitch=3.81mm , 2POS , (Supplied by customer) ; Mating : Order No. : PHOENIX #1827868 , Type : MC 1,5/2-GF-3,81 | |
| P56A | Microphone MALE: SHEE LINE MALE MIC #CP102-3 , or local equivalent ; Mating : KING NET #89M103-3P | |
| P56B | Microphone male: 3PIN , (Supplied by customer) ; Mating : KING NET #91M-701-3P | |
| P56C | ITTCannon #XLR-4-12C: ITTCannon #XLR-4-12C , MALE 4POS ; (Supplied by customer); Mating : ITTCannon #XLR-4-14 | |
| P56D | NEUTRIK #NC3MXX: NEUTRIK #NC3MXX , MALE , 3PIN ; Mating : NEUTRIK #NC3FD-LX | |
| P57A | BINDER #99-0401-00-02: BINDER , Series 712, Part No. : 99-0401-00-02 , M9 IP67 , MALE , 2PIN ; (Supplied by customer) ; Mating : BINDER #09-0404-00-02 | |
| P57C | BINDER #99-0410-75-04: BINDER , Series 712, Part No. : 99-0410-75-04 , M9 IP67 , FEMALE , angled , 4PIN ; (Supplied by customer) ; Mating : BINDER #09-0411-00-04 | |
| P57D | BINDER #99-0421-00-07: BINDER , Series 712, Part No. : 99-0421-00-07 M9 IP67 , MALE , 7PIN ; (Supplied by customer) Mating : BINDER #09-0424-00-07 | |
| P57E | BINDER #99-0410-00-04: BINDER , Series 712, Part No. : 99-0410-00-04 M9 IP67 , FEMALE , 4PIN ; (Supplied by customer) Mating : BINDER #09-0411-00-04 | |
| P57F | BINDER #99-0422-10-07: BINDER , Series 712, Part No. : 99-0422-10-07 , M9 IP67 , FEMALE , 7PIN ; (Supplied by customer) ; Mating : BINDER #09-0423-00-07 | |
| P57M | BINDER #99-0437-12-05: BINDER , Series 713 , Part No. : 99-0437-12-05 , M12-A IP67 , MALE , 5PIN ; Mating : BINDER #09-0434-387-05 | |
| P57N | BINDER #99-0430-12-04: BINDER , Series 713 , Part No. : 99-0430-12-04 M12-A IP67 , FEMALE , 4PIN ; Mating : BINDER #09-0431-70-04 | |
| P57P | BINDER # 99-0486-12-08: BINDER , Series 713 , Part No. : 99-0486-12-08 , M12-A IP67 , FEMALE , 8PIN ; (Supplied by customer) | |
| P58C | Male DIN-PIN+LOCK: Male DIN PIN Plug +LOCKING ,5PIN(180°) Mating : YI WAI #MPJ-626-5P(180°) | |
| P58D | Male DIN-PIN+LOCK: Male DIN PIN Plug +LOCKING , 5PIN(240°) Mating : YI WAI #MPJ-626-5P(240°) | |
| P59A | MOLEX #44441-2002: MOLEX,Sabre,44441-2002, Pitch=7.5mm, (Supplied by customer) Mating : MOLEX #43160-0102 | |
| P60A | HONDA #RMCA-E26(14)FS-A: HONDA #RMCA-E26(14)FS-A (Supplied by customer) | |
| P60B | HONDA #RMCA-E26: HONDA #RMCA-E26,R-26R180CB-001 (Supplied by customer) | |
| P60C | HONDA #RMCA-E26FS-A+: HONDA #RMCA-E26FS-A+ (Supplied by customer) | |
| P61A | DIN-5 MALE PLUG- L Type: 5PIN(180°),Fixed Mating : S.C. #SCN600S5SS00000G | |
| P61B | DIN-8 MALE PLUG- L Type: 8PIN(270°) , Assembly type Mating : S.C. #SCN600S8SS00000G | |
| P61C | DIN-5 MALE PLUG- L Type: 5PIN(180°) , L Type , Fixed (Supplied by customer) Mating : S.C. #SCN600S5SS00000G | |
| P61D | DIN-5 MALE PLUG- L Type: 5PIN(180°) , L Type , Fixed Mating : S.C. #SCN600S5SS00000G | |
| P61E | SWITCHCRAFT#05DL5MX: SWITCHCRAFT#05DL5MX , 5 PIN MALE PLUG 180° ; Assembly type , Mating : SWITCHCRAFT #57PC5F | |
| P62A | AMP CPC Connector #206060-1: PLUG : AMP#206060-1 ,4 Positions FEMALE , SOCKET : AMP#66183-1 , Gold 30μ , Cable Clamp : #206062-3 , (Supplied by customer) Mating : AMP#206153-2 | |
| P62B | AMP CPC Connector #82647-1: PLUG : AMP#82647-1 , 4 Positions FEMALE , SOCKET : AMP#66360-4 , Gold 30μ , CABLE CLAMP : AMP#182658-1 , (Supplied by customer) Mating : AMP#206153-2 | |
| P62C | AMP CPC Connector #206060-1: PLUG : AMP#206060-1 , 4 Positions FEMALE , SOCKE : AMP#1-66100-9 , Gold 30μ , FLEXIBLE CABLE BOOT : #207489-1 , CABLE GRIPPER : AMP# 207490-1 , Mating : AMP#206153-2 | |
| P62D | AMP CPC Connector #206060-1: PLUG : AMP#206060-1 , 4 Positions FEMALE , SOCKE : AMP#1-66360-2 , Brass , Tin Plated Contacts , Mating : AMP#206153-2 | |
| P63A | ITT #120-8551-100: Mini SURE-SEAL , MSS2R , ITT #120-8551-100 (Supplied by customer) Mating : ITT #120-8552-100 | |
| P64B | LUMBERG #KV 30: LUMBERG #KV 30 , FEMALE , 3PIN ; Mating : LUMBERG #SFV 30 | |
| P64C | LUMBERG #MJ-372/6: LUMBERG #MJ-372/6 , SOCKET ; Mini DIN Free 6way ; Mating : LUMBERG #MP-371-S6 | |
| P64D | AMPHENOL #T3361010: AMPHENOL #T3361010 , FEMALE , 5PIN ; RS #486-123 ; Mating : AMPHENOL #T3358100 | |
| P64E | LUMBERG #SV 50/6: LUMBERG #SV 50/6 , MALE , 5PIN ; (Supplied by customer) ; Mating : LUMBERG #KFV 50/6 | |
| P64F | LUMBERG #SV 80/8: LUMBERG #SV 80/8 , MALE , 8PIN ; Mating : LUMBERG #KFV 80 | |
| P64G | LUMBERG #SV 50-8: LUMBERG #SV 50-8 , MALE , 5PIN ; (Supplied by customer) ; Mating : LUMBERG #KFV 50 | |
| P64H | AMPHENOL #T 3360 020: AMPHENOL , Serie : C 091 A ; P/N : #T 3360 020 , MALE , 5PIN ; (Supplied by customer) ; Mating : AMPHENOL #T 3363 010 | |
| P64J | LUMBERG #RKMCK 4: LUMBERG #RKMCK 4 MALE , 4PIN ; Customer For Pin Assignments (Supplied by customer) ; | |
| P65A | MOLEX #50-57-9402: MOLEX SL Crimp Housing, 50-57-9402 (or local equivalent) , Pitch=2.54mm , Mating : MOLEX #70545-0001 | |
| P65B | MOLEX #50-57-9406: MOLEX SL Crimp Housing, 50-57-9406 (or local equivalent) , Pitch=2.54mm , Mating : MOLEX #70545-0005 | |
| P65C | MOLEX #50-57-9403: MOLEX SL Crimp Housing, 50-57-9403 , Pitch=2.54mm , (Supplied by customer) Mating : MOLEX #70545-0002 | |
| P66A | AMPHENOL LTW #LTWBD-04AFFM-L180: AMPHENOL LTW #LTWBD-04AFFM-L180 , 4PIN, (Supplied by customer) | |
| P66B | AMPHENOL LTW #12-03BFFA-SL8001: AMPHENOL LTW #12-03BFFA-SL8001 , FEMALE , 3PIN ; | |
| P66C | AMPHENOL LTW #LTWAD-02AFFM-LL6000: AMPHENOL LTW #LTWAD-02AFFM-LL6000 , FEMALE , 2PIN ; (Supplied by customer) | |
| P66D | SINGATRON #2CT3004-W05303: SINGATRON #2CT3004-W05303 , FEMALE , 5PIN ; Mating : SINGATRON #2CT3000-W05300 | |
| P66E | SWITCHCRAFT #EN3C3F16X: SWITCHCRAFT #EN3C3F16X , FEMALE , 3PIN ; (Supplied by customer) ; Mating : SWITCHCRAFT #EN3P3M16X | |
| P66F | AMPHENOL LTW #D62-CNX-FF05S1200: AMPHENOL LTW #D62-CNX-FF05S1200 ; FEMALE , 5PIN ; Mating : AMPHENOL LTW #LTWBD-05PMMS-SC7001 | |
| P66G | AMPHENOL LTW #D62-CTX-FF05S1500-M: AMPHENOL LTW #D62-CTX-FF05S1500-M ; FEMALE , 5PIN ; Mating : AMPHENOL LTW #LTWBD-05PMMS-SC7001 | |
| P66H | UFA CONNTETOR: M8 FEMALE 4 POSITION(PIN DOLD-PLT) WITH " O " RING | |
| P66J | SINGATRON #2CT3010-W05308H: SINGATRON #2CT3010-W05308H , FEMALE , 5PIN ; Mating : SINGATRON #2CT3000-W05300 | |
| P66K | LANE JOIN #LJ-9520100P-06: LANE JOIN #LJ-9520100P-06 ; M12 , FEMALE , 6PIN ; Mating : LANE JOIN #LJ-9520100R-06 | |
| P66L | AMPHENOL LTW #D62-MTX-FF05S-1500S: AMPHENOL LTW #D62-MTX-FF05S-1500S ; FEMALE , 5PIN ; Mating : AMPHENOL LTW #LTWBD-05PMMS-SC7001 | |
| P66M | AMPHENOL LTW #12-08AFFM-SR7000: AMPHENOL LTW #12-08AFFM-SR7000 , FEMALE , 8PIN ; Mating : AMPHENOL LTW #12-08PMMS-SF8001 | |
| P66N | SAMTEC #ACPK-16-03-G-S-P-1: SAMTEC #ACPK-16-03-G-S-P-1 , FEMALE , 4PIN ; DUST CAPS : SAMTEC #DCA-ACP-16-P-1 (Supplied by customer) Mating : SAMTEC #ACR-16-03-G-00.20-T-BC-P-1 | |
| P66P | AMPHENOL LTW #M12A-05BFFB-SL7001: AMPHENOL LTW #M12A-05BFFB-SL7001 ; FEMALE , 5PIN ; Mating : AMPHENOL LTW #12-05PMMS-SF8001 | |
| P66Q | TMW #1108-12A10-3AF(8.0): TMW #1108-12A10-3AF(8.0) , FEMALE , 3PIN ; (Supplied by customer) ; Mating : TMW #1108-23A10-3AM | |
| P66R | PHOENIX #1641772: Order No. : PHOENIX #1641772 , TYPE:SACC-M12FS-4QO-0,75-M M12 , FEMALE , 4PIN ; Mating : Order No. : PHOENIX #1439939 ; Type : SACC-CI-M12MS-4CON-L180 THR SH | |
| P66S | TAKACHI #THB387-3P: TAKACHI #THB387-3P , FEMALE , 3PIN ; (Supplied by customer) ; | |
| P66T | AMPHENOL LTW #M12A-05BFFM-SL8000: AMPHENOL LTW #M12A-05BFFM-SL8000 ; FEMALE , 5PIN ; (Supplied by customer) Mating : AMPHENOL LTW #M12A-05PMMS-SF8001 | |
| P66U | AMPHENOL LTW #M12A-08BFFM-SR8000: AMPHENOL LTW #M12A-08BFFM-SR8000 FEMALE , 8PIN ; Mating : AMPHENOL LTW #M12A-08PMMS-SF8001 | |
| P66V | SST #8F2P-B-E-BL-8x0.5-D-S-GF-B-N-1: SST #8F2P-B-E-BL-8x0.5-D-S-GF-B-N-1 , M8 , FEMALE , 2PIN ; (Supplied by customer) ; Mating :SST #8M2P-B-E-BL-8x0.5-C-S-G10-B-N-1 | |
| P66W | TIMYN #PH07ZSE-M08FF04L81: TIMYN #PH07ZSE-M08FF04L81 ; M8 , FEMALE , 4PIN ; Mating : TIMYN #P573PAN-M08MM04S11 | |
| P66Y | CNLINKO #LP-12-C03PE-02-001: CNLINKO #LP-12-C03PE-02-001 , MALE , 3PIN ; Mating : CNLINKO #LP12-J03SX-03-001 | |
| P66Z | TE#T4110011081-000: TE#T4110011081-000 M12 , FEMALE , 8PIN ; Mating : TE#T4111011081-000 | |
| P67A | Amphenol #C091 31H008 101 2: Amphenol #C091D,C091 31H008 101 2 , Male ; (Supplied by customer); Mating : Amphenol #C091 31G008 100 2 | |
| P67B | Amphenol #MS3106A10SL-3S: Amphenol #MS3106A10SL-3S+97-3057-1004 (Supplied by customer) ; Mating : Amphenol #MS3102A10SL-3P | |
| P67C | Amphenol #C01620F00310012: Amphenol #C01620F00310012 (Supplied by customer) ; Mating : Amphenol #C016 20C003 100 12 | |
| P68A | DINKLE #5ESDPL-02P: DINKLE #5ESDPL-02P, 2PIN, Pitch=5.0mm ; Mating : DINKLE #5EHDVC-02P | |
| P69A | ODU #S12L0C-T04MPH0-8200: ODU #S12L0C-T04MPH0-8200 MALE , 4PIN ; Mating : ODU #G12L0C-P04LPH0-0000 | |
| P69B | ODU #S12L0C-P04LPHO-8200: ODU #S12L0C-P04LPHO-8200 , FEMALE , 4PIN ; Mating : ODU #G12L0C-P04MPH0-0000 | |
| P70A | BINDER #99-3400-00-03: BINDER , Series 768 ; Part No. : 99-3400-00-03 ; M8 IP67 ,FEMALE , 3PIN ; Mating : BINDER #09-3411-70-03 | |
| P71A | AMP #3-1437719-3: AMP #3-1437719-3 , T01-0550-S04 ; FEMALE , 4PIN ; Mating : AMP #6-1437719-4 | |
| P71B | AMP #1-1437719-3: AMP #1-1437719-3 , T01-0540-S03 ; FEMALE , 3PIN ; CRIMP : AMP #5-1437720-6 ; Mating : AMP #6-1437719-3 | |
| P71C | TE #3-1437719-3: AMP #3-1437719-3 , MOLDING ; FEMALE , 4PIN ; Mating : TE #6-1437719-4 | |
| P72A | BINDER #99-5110-00-04: BINDER , Series 423 , Part No. : 99-5110-00-04 , M16 IP67 , FEMALE , 4PIN ; Mating : BINDER #09-0111-00-04 | |
| P72B | BINDER #99-5102-15-02: BINDER , Series 423 , Part No. : 99-5102-15-02 , M16 IP67 , FEMALE , 2PIN ; Mating : BINDER #09-0103-00-02 | |
| P72C | BINDER #99-5606-15-03: BINDER , Series 423 , Part No. : 99-5606-15-03 , M16 IP67 , FEMALE , 3PIN ; Mating : BINDER #09-0107-00-03 | |
| P72D | BINDER #99-5610-15-04: BINDER , Series 423 , Part No. : 99-5610-15-04 , M16 IP67 , FEMALE , 4PIN ; Mating : BINDER #09-0111-00-04 | |
| P72E | BINDER #99 5106 75 03: BINDER , Series 423 , Part No. : 99 5106 75 03 , M16 IP67 , FEMALE , 3PIN ; Mating : BINDER #09-0107-00-03 | |
| P73A | TURCK #RKS 4.5T-2/CS10073: TURCK #RKS 4.5T-2/CS10073 (Supplied by customer) | |
| P74A | HIRSCHMANN #930 539-517: Type : MAS 8100 S , Grey, Order NO. : HIRSCHMANN #930 539-517 , MALE ; Mating : HIRSCHMANN #930 37-517 | |
| P75A | Audio FEMALE: 6.3mm MONO AUDIO FEMALE (Supplied by customer) ; Mating : S.C. #SCPG601MB0N0000 | |
| P75B | NEUTRIK #NJ3FC6: NEUTRIK #NJ3FC6 , 1/4" cable jack with locking , Stereo Audio , 3 Pole ; Mating : NEUTRIK #NP3XL | |
| P76A | SANYE connector: G&D #GGG-08-02P ; (or local equivalent) ; Pitch=8.0mm | |
| P77A | WEIDMUELLER # 1727560000: WEIDMUELLER , Order No. : 1727560000, TYPE NO.:B2L 3.5/6 SN OR, Pitch=3.5mm (Supplied by customer) ; Mating : WEIDMUELLER #S2L 3.50/06/90F 3.5SN OR BX | |
| P78B | MOLEX #03-12-1036: MOLEX #03-12-1036, Pitch=8.38mm, (Supplied by customer) ; Mating : MOLEX #03-12-2035 | |
| P79A | HIROSE #RP34L-5PA-2SC(71): HIROSE #RP34L-5PA-2SC(71) ; Mating : HIROSE #RP34L-5R-2PD(71) | |
| P79B | HIROSE #RP34L-5PA-3SC(71): HIROSE #RP34L-5PA-3SC(71) ; Mating : HIROSE #RP34L-5R-3PD(71) | |
| P79C | HIROSE #MQ172-3SA-CV(50): HIROSE #MQ172-3SA-CV(50) (Supplied by customer) ; Mating : HIROSE #MQ172-3PA-(55) | |
| P79D | HIROSE #RP34L-5PA-3SC(71): HIROSE #RP34L-5PA-3SC(71) ; (Supplied by customer) ; Mating : HIROSE #RP34L-5R-3PD(71) | |
| P79K | HIROSE #RP34L-5LP-3SC(71): HIROSE #RP34L-5LP-3SC(71) (Supplied by customer) ; Mating : HIROSE #RP34L-5R-3PD(71) | |
| P80A | DINKLE #EC381V-02P: DINKLE #EC381V-02P , Pith:3.81mm Mating : DINKLE #ECH381R-02P | |
| P80B | PHOENIX #1803578: Order No.: PHOENIX #1803578 Type: MC 1,5/2-ST-3,81 , Pitch=3.81mm , 2POS , (Supplied by customer) ; Mating : Order No.: PHOENIX #1803277 ; Type:MC 1,5/2-G-3,81 | |
| P80C | FCI #20020008-D101B01LF: FCI #20020008-D101B01LF 10 POLES Pitch=3.81mm , (Supplied by customer) ; Mating : FCI #20020107-D101A01LF | |
| P81A | FINE CABLES connector: M8 4P , FEMALE Mating : FINECABLE #MB08MSARF04ST | |
| P81G | BELDEN CONNECTOR: M8 4P , FEMALE , L TYPE (Supplied by customer) Mating : FINECABLE #MB08MSARF04ST | |
| P82A | Connector: (Supplied by customer) | |
| P83A | HUANG JI: 2PIN-JACK-1M00-03 ; Mating : (FUAN GEE)5521TIP-1+ (SC)SCD441CCSO13000,2.0φ | |
| P84A | PHOENIX #1714977: Order No. : PHOENIX #1714977, TYPE:MC 1,5/2-STF-3,5 BK , Pitch=3.5mm , 2POS , Mating : Order No. : PHOENIX #1843790 ; TYPE:MC 1,5/2-GF-3,5 | |
| P84B | Sauro # CTF020V8-0N: Sauro #CTF020V8-0N; Pitch=3.5mm , 2POS ; Mating : Sauro #CTM020V8 | |
| P84C | MOLEX # 39504-0002: MOLEX # 39504-0002 ; Pitch=3.5mm , 2POS ; Mating : MOLEX #39505-1002 | |
| P84D | WEIDMULLER #1606640000: WEIDMULLER Order No. : 1606640000 , TYPE NO. : BL 3.50/02/180F SN OR BX , Pitch=3.5mm , 2POS ; Mating : Order No. : 16075000 | |
| P84E | PHOENIX #1715400: Order No. : PHOENIX #1715400, TYPE:MC 1,5/3-STF-3,5 BK , Pitch=3.5mm , 3POS , Mating : Order No. : PHOENIX #1843800 ; TYPE:MC 1,5/3-GF-3,5 | |
| P85A | PHOENIX #1852778: Order No : PHOENIX #1852778, TYPE:MSTBC 2,5/3-ST-5,08 BK, Pitch=5.08mm , 3POS ; Mating : PHOENIX #EMSTBA 2,5/ 3-G-5,08 | |
| P85B | PHOENIX #1777989: Order No :PHOENIX #1777989 TYPE:MSTB 2,5/2-STF-5,08 Pitch=5.08mm , 2POS ; (Supplied by customer) Mating : PHOENIX #1776508 ; TYPE:MSTB 2,5/ 2-GF-5,08 | |
| P85C | PHOENIX #778014: Order No : PHOENIX #778014 , TYPE:MSTB 2,5/ 5-STF-5,08 Pitch=5.08mm , 5POS ; (Supplied by customer) Mating : Order No. : PHOENIX#1776537 TYPE:MSTB 2,5/ 5-GF-5,08 | |
| P86A | 5 PIN DIN PLUG(240°): SWITCHCRAFT #12BL5MX , Assembly type , (Supplied by customer) ; Mating : SWITCHCRAFT #61HA5FX-ND | |
| P86B | DIN-6 MALE PLUG: S.C. #SCN680P06NN0000G ; Assembly type ; Mating : S.C. #SCN600S6SS00000G | |
| P86C | DIN-5 MALE PLUG: S.C. #SCN680P05NN1000G ; Assembly type , Mating : S.C. #SCN600S5SS00000G | |
| P86D | DIN-5 MALE PLUG: MARUSHIN #MP-132/8 ; 5 PIN MALE PLUG 180° ; Assembly type , (Supplied by customer) ; Mating : MARUSHIN #MJ-192 | |
| P87A | AMP #1-480424-0: AMP #1-480424-0 , (or local equivalent) ; Pitch=5.08mm ; Mating : AMP #174804-1 | |
| P87B | AMP #174354-2: AMP #174354-2 070 ECONOSEAL MARK , 2 CAP 2P Pitch=4.8mm Mating : AMP #174352-2 + Terminals:AMP #171662-1 | |
| P88A | USB B TYPE , MALE: USB B TYPE , MALE , 4PIN ; Mating : KYCON #KUSBX-BS1N-B | |
| P88B | USB A TYPE , MALE: USB A TYPE , MALE , 4PIN ; Mating : KYCON #KUSBX-AS1N-B | |
| P88C | MINI USB B TYPE , MALE: MINI USB B TYPE , MALE ; Mating : MOLEX #54819-0519 | |
| P88D | MICRO USB B TYPE , MALE: MICRO USB B TYPE , MALE ; Mating : MOLEX #105164-0001 | |
| P88E | RIGHT ANGLE MINI USB B TYPE , MALE: RIGHT ANGLE MINI USB B TYPE , MALE ; Mating : MOLEX #54819-0519 | |
| P88F | USB A TYPE , FEMALE: USB A TYPE , FEMALE , 4PIN ; Mating : YAO SHENG #TS-026 | |
| P88G | USB A TYPE , FEMALE: USB A TYPE , FEMALE , 4PIN ; Mating : YAO SHENG #TS-026 | |
| P88H | USB TYPE-C , MALE: USB TYPE-C , MALE , 24PIN ; Mating : MOLEX #105455-0101 | |
| P88J | USB TYPE-C , MALE: USB TYPE-C , MALE , 24PIN ; (Tooling was paid by customer) ; Mating : MOLEX #105455-0101 | |
| P89A | connector: 6PIN (Supplied by customer) | |
| P90A | LEMO #PHG.1B.305.CYMD62Z: LEMO #PHG.1B.305.CYMD62Z +LEMO #GMA.1B.054.DG , BEND RELIEF-GRAY ; FEMALE , 5PIN ; Mating : LEMO #FAG.1B.305.CLA | |
| P90B | LEMO #PHG.1B.305.CYMD52Z: LEMO #PHG.1B.305.CYMD52Z +LEMO #GMA.1B.045.DG , BEND RELIEF-GRAY ; FEMALE , 5PIN ; Mating : LEMO #FAG.1B.305.CLA | |
| P90C | LEMO #FGG.1B.305.CYCD52Z: LEMO #FGG.1B.305.CYCD52Z +LEMO #GMA.1B.045.DN , BEND RELIEF-BLACK ; MALE , 5PIN ; (Supplied by customer) ; Mating : LEMO #EGG.1B.305.CLL | |
| P90D | LEMO #FGJ.1B.302.CLLD42Z: LEMO #FGJ.1B.302.CLLD42Z +LEMO #GMA.1B.040.DN , BEND RELIEF-BLACK ; FEMALE , 2PIN ; (Supplied by customer) ; Mating : LEMO #EGJ.1B.302.CLA | |
| P90E | LEMO #FFA.00.113.CTAK37Z: LEMO #FFA.00.113.CTAK37Z +LEMO #GMA.0B.030.DN , BEND RELIEF-BLACK ; (Supplied by customer) ; Mating : LEMO #ERA.00.1135.CLL | |
| P90F | LEMO #FGG.0B.304.CLAD52Z: LEMO #FGG.0B.304.CLAD52Z MALE , 4PIN ; (Supplied by customer) ; Mating : LEMO #EGG.0B.304.CLL | |
| P90G | LEMO #PAC.M0.6GL.CC52N: LEMO #PAC.M0.6GL.CC52N , MALE , 6PIN ; Mating : LEMO #PLG.M0.6GL.LG | |
| P90H | LEMO #PAC.M0.6GL.CC52NZ: LEMO #PAC.M0.6GL.CC52NZ +LEMO #GMA.1B.045.DN , BEND RELIEF-BLACK ; MALE , 6PIN ; Mating : LEMO #PLG.M0.6GL.LG | |
| P90J | LEMO #PHG.1B.305.CLLD52Z: LEMO #PHG.1B.305.CLLD52Z +LEMO #GMA.1B.045.DG , BEND RELIEF-GRAY ; FEMALE , 5PIN ; (Supplied by customer); Mating : LEMO #FAG.1B.305.CLA | |
| P90K | LEMO #FFA.0S.304.CLAK52Z: LEMO #FFA.0S.304.CLAK52Z +LEMO #GMA.1B.054.DN , BEND RELIEF-BLACK ; (Supplied by customer) Mating : LEMO #ERA.0S.304.CLL | |
| P90L | LEMO #PAG.M0.8GL.AC52G: LEMO #PAG.M0.8GL.AC52G ; MALE , 8PIN ; Mating : LEMO #PLG.M0.8GL.LG | |
| P90M | LEMO #PAG.M0.4GL.AC65GZ: LEMO #PAG.M0.4GL.AC65GZ +LEMO #GMA.1B.054.DN , BEND RELIEF-BLACK ; MALE , 4PIN ; (Supplied by customer) ; Mating : LEMO #PKG.M0.4GL.LG | |
| P90N | LEMO #FGG.2B.304.CLAD82: LEMO #FGG.2B.304.CLAD82 MALE , 4PIN ; (Supplied by customer) ; Mating : LEMO #EGG.2B.304.CLL | |
| P90P | LEMO #FFA.1S.304.CYCK72: LEMO #FFA.1S.304.CYCK72 ; (Supplied by customer) ; Mating : LEMO #ERA.1S.304.CLM | |
| P90Q | LEMO#FPG.2B.306.CLAD72: LEMO#FPG.2B.306.CLAD72 , MALE , 6PIN ; Mating : LEMO #EGG.2B.306.CLL | |
| P90R | LEMO#FFA.1S.305.CLAC52Z: LEMO#FFA.1S.305.CLAC52Z + LEMO#GMA.1B.054.DN , BEND RELIEF-BLACK ; (Supplied by customer) Mating : LEMO #ERA.1S.305.CLL | |
| P91A | ALDEN #110604: ALDEN #110604 , COLOR :WHITE/BLUE , 4PIN DIN MALE PLUG ; Mating : ALDEN #320413 | |
| P92A | Cord End Terminal: Cord End Terminal L = 6.0 mm | |
| P92B | #6 Ring Terminal & S&T: Ring Terminal ; STUD SIZE #6 ; KST #RVM1-3.7 (or local equivalent) | |
| P92C | Cord End Terminal: RS#184-9676 / ITEM NO.:TE1508 + RS #458-702 / ITEM NO.: E1008, ; Wire Size : AWG 16 (184-9676 ) ; AWG 18 (458-702) ; L = 8.0 mm | |
| P92D | Cord End Terminal: KST #E1512 , (or local equivalent) ; Wire Size : AWG 16 ; L = 12.0 mm | |
| P92E | Quick-Disconnect Connector: KST #FDFNYD1-250 , FEMALE , (or local equivalent) ; 250 TAB ; TAB SIZE=6.3 x 0.8mm ; Mating : KST #MDFNYD1-250 | |
| P92F | APP #PP15: APP#PP15-1327(RED)+PP15-1327G6(BLACK) TERMINAL:PP15-1332 Mating : APP#PP15-1327 , TERMINAL:PP15-1332 | |
| P92G | S&T-Cable: STRIPPED & TINNED, 6C-Cable | |
| P92H | Ring Terminal (4.3mm , #8): Ring Terminal(4.3mm) ; STUD SIZE #8 | |
| P92J | 4mm Banana Plug: 4mm Banana Plug Mueller #DS-BU-32614 (Supplied by customer) Mating : Pomona #72930-0 | |
| P93A | ODU #S21MH7-P08MFD0-397S: ODU #S21MH7-P08MFD0-397S MALE , 8PIN , Mating : ODU #G11MH7-P08LFD0-0070 | |
| P93B | ODU #S41B0S-P02MPH0-55BS: ODU #S41B0S-P02MPH0-55BS (Supplied by customer) | |
| P93C | ODU #S41F1C-P05MJG0-55GP: ODU #S41F1C-P05MJG0-55GP, MALE , 5 PIN , (Supplied by customer) ; Mating : ODU #AD1F1C-P05LJG0-0000 | |
| P93D | ODU #W11M07-P02MPH0-6560: ODU #W11M07-P02MPH0-6560 ; 2- positions , Right-Angle-Plug ; Mating : ODU #G11M07- P02LPH0-0060 | |
| P93E | ODU #S11M07-P04PJH0-6580: ODU #S11M07-P04PJH0-6580 , MALE , 4- positions , Mating : ODU #G11M07- P04LJH0-0080 | |
| P93F | ODU#C00.707.100-020.018: ODU #C00.707.100-020.018 MALE , 2 PIN , (Supplied by customer) ; Mating : ODU #756.199.404.000.000 | |
| P93G | ODU #S11M07-P03LJN0-6560: ODU #S11M07-P03LJN0-6560 FEMALE , 3 PIN , Mating : ODU #G11M07-P03MJN0-6560 | |
| P93H | ODU#S23A1G-P04MTQ9-600S: ODU#S23A1G-P04MTQ9-600S +ODU#703.023.208.965.040 MALE , 4 PIN , (Supplied by customer) ; | |
| P93J | ODU#S42MC7-T05MPQL-747S: ODU#S42MC7-T05MPQL-747S +ODU#KM2.023.207.965.062 MALE , 5 PIN , (Supplied by customer) ; Mating : ODU #G42MC7-T05LPQ9-0071 | |
| P94A | BINDER #09-9748-70-03: BINDER , Series 719 ; Part No. : 09-9748-70-03 , Snap-in IP40 , FEMALE , 3PIN ; (Supplied by customer) ; Mating : BINDER #09-9749-30-03 | |
| P94B | BINDER #09-9764-70-04: BINDER , Series 719 ; Part No. : 09-9764-70-04 , Snap-in IP40 , FEMALE , 4PIN ; Mating : BINDER #09-9765-30-04 | |
| P95A | MOLEX #35-14-10201: Housing :35-14-10201 , (or local equivalent); Pitch=6.2mm , Mating : JMT #JP2120-2 | |
| P96A | Speical Connectors: SHIH YANG#SY-043-B | |
| P96B | Speical Connectors: 6 PIN , Tooling was paid by customer | |
| P96C | Speical Connectors: 2 PIN , Tooling was paid by customer | |
| P97A | connector: DC_KAPURA(A) (Supplied by customer) | |
| P98A | Male DC Plug: 2.1*5.5 mm | |
| P99A | TAJIMI #R03-JB3F: TAJIMI #R03-JB3F , FEMALE , 3PIN ; (Supplied by customer) ; Mating : TAJIMI #R03-PB3M | |
| P99B | TAJIMI #R03-PB3F: TAJIMI #R03-PB3F , FEMALE , 3PIN ; (Supplied by customer) ; Mating : TAJIMI #R03-R3M | |
| P99C | ZJPT #P16-3A: ZJPT #P16-3A , FEMALE , 3PIN ; Mating : ZJPT #P16F-3C | |
| PA1A | MOLEX#120071-0047: MOLEX #120071-0047 , Brad® Micro-Change® (M12), Male, 5 Poles , (Supplied by customer); Mating : MOLEX #84864-9005 | |
| PA1B | MOLEX #130017-0004: MOLEX #130017-0004 , Mini-Change® , FEMALE ,3 Pole, Mating : MOLEX #130017-0008 | |
| PA1C | SVLEC #M12-913081: SVLEC #M12-913081 , M12 , Male, 4 PIN , (Supplied by customer); | |
| PA2A | CHOGORI #54051102-01: CHOGORI #54051102-01 ; M12 Field Attachable(90°), 5 PIN MALE ; Mating : CHOGORI #54056105-01 | |
| PA2B | M12 Circular Connectors , L-type: M12 Circular Connectors , L-type Male, 4 PIN , | |
| PA2C | TE #T4112012051-000: TE #T4112012051-000 M12 FEMALE, 5PIN | |
| PA3A | HARTING #09160243101: P/N : HARTING #09160243101 + FEMALE CRIMP ; Mating : HARTING #09160243001 + MALE CRIMP | |
| PA3B | HARTING #09461454400: HARTING #09461454400 , 4 Position , Male ; Mating : HARTING #09462454030 | |
| PA3C | NEUTRIK #NAC3FX-W-TOP: NEUTRIK #NAC3FX-W-TOP , FEMALE , Mating : NEUTRIK #NAC3MPX-TOP | |
| PB1A | WST #P2-A10108Z: WST #P2-A10108Z , Pitch=4.5mm ; Mating : WST #P2-A00108 | |
| PB2A | JST #J11SF-03V-KX: JST #J11SF-03V-KX , Pitch=2.2mm ; (Supplied by customer); Mating : JST #J11SFM-03V-KX , TERMINAL : SF1M-21T-M0.6A | |
| PB2B | JST #XAP-02V-1: JST #XAP-02V-1, Pitch=2.5mm ; Mating : JST #B02B-XASK-1(LF)(SN) | |
| PB3A | MOLEX#171692-0102: MOLEX#171692-0102 , Pitch=5.7mm ; Tooling was paid by customer ; Mating : MOLEX#76829-0102 | |
| PB3B | MOLEX#200456-1212: MOLEX#200456-1212 , Pitch=5.7mm ; Mating : MOLEX#213814-1102 | |
| PB4A | MOLEX #172258-1104: MOLEX #172258-1104 , Pitch=3.5mm, PB4A shut down , PB4C is alternative. | |
| PB4B | MOLEX#09-50-8023: MOLEX#09-50-8023 , Pitch=3.96mm, Mating : MOLEX #26-60-4020 | |
| PB4C | MOLEX #172258-3104: MOLEX #172258-3104 , Pitch=3.5mm , Mating : MOLEX#172298-1104 | |
| PC1A | SWITCHCRAFT #761KS12: SWITCHCRAFT #761KS12 , FLOATING LOCKRING , MOLDING , Tooling was paid by customer ID=0.1"(2.5mm), OD=0.218"(5.5mm), L=0.474"(12mm); INTERNAL THREAD : 7/16-32 UN 2B ; Mating : SWITCHCRAFT #L712AS | |
| PC1B | SWITCHCRAFT #S10KS15: SWITCHCRAFT #S10KS15 , FLOATING LOCKRING , OD=0.218"(5.5mm), Tip insulator color , blue , for ID 2.0mm JACK ; CABLE O.D. RANGE=0.150-0.175"(3.8-4.4mm); INTERNAL THREAD : 7/16-32 UN 2B ; Mating : SWITCHCRAFT #RAPC10 | |
| PC1C | SWITCHCRAFT #767KS12: SWITCHCRAFT #767KS12 , FLOATING LOCKRING , ID=0.084"(2.1mm), OD=0.218"(5.5mm), L=0.474"(12mm); Tip insulator color : Red ; CABLE O.D. RANGE=0.125-0.150"(3.2-3.8mm); INTERNAL THREAD : 7/16-32 UN 2B ; Mating : SWITCHCRAFT #L722AS | |
| PC1D | SWITCHCRAFT #767KS15: #767KS15 , FLOATING LOCKRING , ID=0.084"(2.1mm), OD=0.218"(5.5mm), L=0.474"(12mm); Tip insulator color : Red ; CABLE O.D. RANGE=0.150-0.175"(3.8-4.4mm) ; INTERNAL THREAD : 7/16-32 UN 2B ; (Supplied by customer) Mating : SWITCHCRAFT #L722AS | |
| PC1E | SWITCHCRAFT #S761KS12: SWITCHCRAFT #S761KS12 FLOATING LOCKRING , ID=0.08"(2.0mm), OD=0.218"(5.5mm), L=0.474"(12mm); Tip insulator color : White ; CABLE O.D. RANGE=0.125-0.150"(3.2-3.8mm); INTERNAL THREAD : 7/16-32 UN 2B ; Mating : SWITCHCRAFT #L722AS | |
| PC1F | SWITCHCRAFT #761KS17: SWITCHCRAFT #761KS17, FLOATING LOCKRING, ID=0.1"(2.5mm),OD=0.218"(5.5mm), L=0.474"(12mm); Tip insulator color : Black; CABLE O.D. RANGE=0.175-0.210"(4.4-5.1mm); INTERNAL THREAD : 7/16-32 UN 2B ; Mating : SWITCHCRAFT #L712AS | |
| PC1G | SWITCHCRAFT #S1015: SWITCHCRAFT #S1015 ID=0.08"(2.0mm), OD=0.218"(5.5mm), Up to 11A current rating (carry), 24 V DC CABLE O.D. RANGE=0.150-0.175"(3.8-4.4mm) ; Mating : SWITCHCRAFT #RASPC10 | |
| PC1H | XX: XX | |
| PC2A | SWITCHCRAFT #760BK: SWITCHCRAFT #760BK , LOCKRING , MOLDING , ID=0.1"(2.5mm) , OD=5.5mm, Mating : SWITCHCRAFT #RAPC712BK | |
| PC2B | SHEN MING #D5525S6: SHEN MING #D5525S6, FLOATING LOCKRING , MOLDING , Tooling was paid by customer ; ID=2.5mm ; OD=5.5mm ; L=12mm ; INTERNAL THREAD : M8x0.75mm ; Mating : SHEN MING #655-153 | |
| PC2C | SHEN MING #655-331: SHEN MING #655-331 , Tuning Fork Type , FLOATING LOCKRING , MOLDING , (or local equivalent) ; ID=2.1mm ; OD=5.5mm ; L=9.5mm ; INTERNAL THREAD : M8x0.75mm ; Mating : SHEN MING #655-141 | |
| PC2D | SHEN MING #655-330: SHEN MING #655-330 , Tuning Fork Type , FLOATING LOCKRING , MOLDING , (or local equivalent) ; ID=2.1mm ; OD=5.5mm ; L=12.0mm ; INTERNAL THREAD : M8x0.75mm ; Mating : SHEN MING #655-141 | |
| PC2E | SWITCHCRAFT #761K: SWITCHCRAFT #761K , FLOATING LOCKRING ,MOLDING Tooling was paid by customer ; ID=0.1"(2.54mm), OD=0.218"(5.54mm), L=0.474"(12.04mm); INTERNAL THREAD : 5/16-32 NEF-2B; Mating : SWITCHCRAFT #L712A | |
| PC2F | SWITCHCRAFT #760: SWITCHCRAFT #760, MOLDING, ID=0.1"(2.54mm),OD=0.218"(5.54mm), L=0.374"(9.5mm) Mating : SWITCHCRAFT #712A | |
| PD1A | Barrel Female Plug: OD=2.5mm,ID=0.7mm,L=9.5mm ; Mating : (S.C.)SCD471FCS000B00G | |
| PD1B | Barrel Female Plug: OD=6.5mm,ID=3.0mm,L=9.5mm ; Mating : CUI #PJ-048H | |
| PD2A | RECTANGULAR Plug: TE #1-2129334-1 ; Mating : TE #2129567-1 | |
| PE1A | Electric Vehicle Plug: C.C.P. #CCPCM-DG025030-700S , (or local equivalent) , Mating :C.C.P. #A-CF-DC020002-001S | |
| PE1B | Electric Vehicle Plug: C.C.P. #A-CM-DC006015-001S | |
| PE2A | Electric Vehicle Plug: YUANQU#13215134-03 | |
| PXX1 | TE#T4112012051-000: TE #T4112012051-000 5PIN ; Mating : | |
| PXXX | M12I 1 305L FLBG1: M12I 1 305L FLBG1 , 5PIN ; | |
| PY1A | KST#3208A1572: KST#3208A1572 + Ring Terminal (4.3mm , #8) FEMALE , 8PIN , Mating : KST#3108A1572 | |
| PY2A | TAI_YUE#HA016D009B: TAI_YUE#HA016D009B 16PIN , | |
| PZ1A | Complex Process: 51-03375-01 ; Mating : S.C. #SCN773S3NSNB001G + S.C. #SCN773S4NSNB001G | |
| PZ1B | Complex Process: 51-09755-94 | |
| PZ1C | Complex Process: 2.1*5.5*12mm ; 51-13511-01 ; Mating : S.C. #SCD441CCSO13000,2.0φ | |
| PZ1D | Complex Process: Molex #39-01-2020+39-01-2026 +51-03-00330 ; 51-18938-94 | |
| PZ1E | Complex Process: 51-18912-94 | |
| PZ1F | Complex Process: USB A TYPE & MINI USB | |
| PZ1G | Complex Process: 2.5*5.5*9.5mm ; 51-21276-01 ; Mating : S.C. #SCD441DCSO13000,2.5φ | |
| PZ1H | Complex Process: Molex #39-01-2061 *2pcs+Ring Terminal (or local equivalent); Mating : E.C.I. #5016H-6(2*3); terminal : E.C.I. #5016 | |
| PZ1J | Complex Process: 2.1*5.5*9.5mm *4PCS,51-24667-01 ; Mating : S.C. #SCD441CCSO13000,2.0φ | |
| PZ1K | Complex Process: Molex #39-01-2061+Ring Terminal (or local equivalent) ; Mating : E.C.I. #5016H-6(2*3); terminal : E.C.I. #5016 | |
| PZ1L | Complex Process: DINKLE #EC350V-02P , Pitch=3.5mm * 4PCS, Mating : DINKLE #ECH350V-02P | |
| PZ1M | Complex Process: SAM WOO#SNH-10-12(P) , FEMALE , 12PIN ; (Supplied by customer) ; Mating : SAM WOO#SNH-10-12(R) | |
| PZ1N | Complex Process: SAM WOO#SNH-10-12(P) , FEMALE , 12PIN ; (Supplied by customer) ; Mating : SAM WOO#SNH-10-12(R) | |
| PZ1P | Complex Process: 2.1*5.5*9.5mm *4PCS , Angle Female Plug , Mating : S.C. #SCD441CCSO13000,2.0φ | |